• Отопительные и отопительно-варочные печи
  • Печь конструкции В.Е. Грум-Грижимайло
  • Прямоугольная отопительная печь (1)
  • Прямоугольная печь (2)
  • Русская печь
  • Печь дачная
  • Печьэкономка
  • Отопительно-варочная печь конструкции И.Ф. Волкова
  • Отопительно-варочная печь конструкции К.Я. Буслаева
  • Малая отопительно-варочная печь
  • Малая отопительно-варочная печь с духовкой
  • Печь Т-образной формы
  • Круглая печь в металлическом футляре
  • Прямоугольная бесканальная отопительная печь
  • Прямоугольная отопительная печь с тремя вертикальными каналами
  • Прямоугольная толстостенная отопительная печь, отштукатуренная (ОПТ-3)
  • Прямоугольная толстостенная отопительная печь (ОПТ-11)
  • Малогабаритная отопительно-варочная печь с тепловым шкафом конструкции В. А. Потапова
  • Отопительно-варочная печь
  • Отопительно-варочная печь «Шведка»
  • Треугольная отопительная печь
  • Кухонные плиты
  • Кухонная плита с духовым шкафом
  • Простая кухонная плита
  • Кухонная плита с духовкой
  • Квартирная кухонная печь
  • Кухонная плита на шанцах
  • Кухонная плита с духовкой и водогрейной коробкой
  • Кухонная плита с котлом (КПВ-2)
  • Кладка печей и каминов

    Как уже говорилось выше, печи бывают нескольких типов: отопительные, для приготовления пищи и совмещающие в себе обе эти функции. Кроме печей, существуют камины, но они исключительно редко используются для приготовления пищи, а в основном носят отопительно-декоративный характер: являются источниками тепла и создают уют в комнате.

    Отопительные и отопительно-варочные печи

    Отопительные печи различаются по продолжительности топки (кратковременного или длительного горения), по теплоотдаче и степени прогрева (умеренный или повышенный). Печи умеренного прогрева имеют стенки толщиной не менее 1/2 кирпича, они медленно прогреваются во время топки и долго держат тепло (при одной или двух топках в сутки поддерживают в помещении почти постоянную температуру воздуха).

    Их поверхность нагревается до температуры не более 55–60° С, в некоторых местах — до 85–90° С. Это исключает пригорание пыли на поверхности печи и улучшает гигиенические условия в помещении. Кладка таких печей требует большого количества материала и прочного фундамента.

    У печей повышенного прогрева стенки тоньше — в полкирпича или в четверть кирпича. Они быстро прогреваются и так же быстро остывают. Температура этих печей в среднем 65–75° С, а в отдельных местах доходит до 120° С. На них часто пригорает пыль, издавая неприятный запах. Эти печи не поддерживают равномерную температуру в помещении и потому уступают печам умеренного прогрева. Сооружение их требует меньше материала; обычно в таких печах топливник и нижнюю часть печи выкладывают в полкирпича, а остальную часть — в четверть кирпича.

    Теплоотдача отопительных печей составляет от 1300 до 4000 ккал/ч. Надо, однако, помнить, что прогрев помещения и поддержание в нем нормальной постоянной температуры при печном отоплении зависит не только от теплоотдачи печи (хотя это и является определяющим фактором), но и от теплоизоляционных свойств самого помещения (дома).

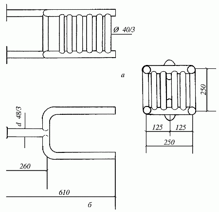
    Печь конструкции В.Е. Грум-Грижимайло

    В основе действия печи конструкции В.Е. Грум-Грижимайло (рис. 45) лежит принцип свободного движения газов. Топливник этой печи расположен внизу, через хайло в средней части печи из топливника газы поступают в колпак, где отдают часть тепла перекрытиям и стенкам печи. Остывая, газы становятся тяжелее и под действием собственной силы тяжести опускаются по пустому пространству у стенок печи в горизонтальный подковообразный дымовой канал, который, в свою очередь, присоединен к дымовой трубе.

    Рис. 45. Печь конструкции В.Е. Грум-Грижимайло. Устройство. Последовательность кладки

    Печь конструкции В.Е. Грум-Грижимайло хорошо удерживает теплоту и не охлаждается даже в случае, если прикрыта вьюшечная задвижка, т. к. поступающий в топку через поддувальную дверку холодный воздух более тяжелый, чем находящийся в колпаке. Холодный воздух остается в нижней части печи, не снижая нагрева верхней части конструкции. Это свойство печи называется газовой вьюшкой.

    Материалы

    — кирпич — 260 шт.;

    — огнеупорный кирпич — 65 шт.;

    — глина обыкновенная — 0,05 м3;

    — глина огнеупорная — 11 кг;

    — сталь кровельная (для футляра) — 6,5 м2;

    — песок — 0,037 м3;

    — дверка топочная 250 х 210 мм — 1 шт.;

    — решетка колосниковая 180 х 250 мм — 1 шт.;

    — дверка поддувальная 130 х 140 мм — 1 шт.;

    — дверка прочистная 130 х 140 мм — 2 шт.;

    — задвижка вьюшечная 130 х 130 мм — 2 шт.;

    — лист предтопочный из кровельной стали — 50 х 70 мм;

    — толь для гидроизоляции шириной 850 мм — 2 листа.

    Прямоугольная отопительная печь (1)

    Устройство (рис. 46, а)

    Эта печь имеет размеры 510 х 890 х 2380 мм. Топливник печи расположен в ее нижней части, а его стенки одновременно являются стенками печи, за счет чего достигается преимущественно нижний нагрев.

    Рис. 46. Прямоугольная отопительная печь, модель 1: а — устройство; б — последовательность кладки

    Материалы

    — кирпич обыкновенный — 245 шт.;

    — кирпич огнеупорный — 110 шт.;

    — глина обыкновенная — 0,2 м3;

    — глина шамотная — 12 кг;

    — песок — 0,2 м3;

    — дверка топочная 250 х 200 мм — 1 шт.;

    — дверка поддувальная 130 х 140 мм — 1 шт.;

    — дверка прочистная 130 х 140 мм — 2 шт.;

    — задвижка вьюшечная 130 х 130 мм — 2 шт.;

    — решетка колосниковая 250 х 250 мм — 1 шт.;

    — толь для гидроизоляции — 100 м2.

    Последовательность кладки (рис. 46, б)

    1-й ряд — по углам кладут трехчетвертные кирпичи, переднюю стенку выкладывают тычками. Стесывают по верхним граням два средних кирпича, делая откос по направлению ко дну зольника (разрез А—А). Пространство между задней стенкой зольника и наружной стенкой печи засыпают сухим песком до 3-го ряда включительно.

    2-й ряд — устанавливают поддувальную дверку в центре передней стенки, по бокам от нее кладут трехчетвертки, дальше ведут кладку из полномерных кирпичей.

    3-й ряд — наращивают кладку. Когда все кирпичи уложены, над передней частью зольника помещают стальную полосу 4 х 35 см.

    4-й ряд — на стальную полосу кладут перекрытие зольниковой камеры. В задней части верх песчаной засыпки закладывают кирпичом.

    5-й ряд— устанавливают над зольником колосниковую решетку. Кирпичи, расположенные спереди и сзади от нее, стесывают так, чтобы получился скос для скатывания углей на решетку.

    6-й ряд — устанавливают топочную дверку. Стесывают кирпичи задней стенки так, чтобы их откосы находились в одной наклонной плоскости с откосами кирпичей предыдущего ряда.

    7–12-й ряды — кладка топливника в 1/2 кирпича с обязательной перевязкой швов.

    13-й ряд — выпуски для перекрытия топливника на передней стенке и части боковых. Выкладываются из трехчетверток.

    14-й и 15-й ряды — кладка перекрытия над топливной камерой. В задней части оставляют отверстие, которое служит для соединения топливника с вертикальным каналом.

    16-й ряд — установка прочистной дверки. Справа дверка опирается на 1/2 кирпича, поставленного на ребро. Для изоляции топливника от вышерасположенных дымовых каналов полку сзади дверки покрывают глиноцементным раствором.

    17–20-й ряды — кладутся вертикальные дымовые каналы.

    21-й и 22-й ряды — подъемный и опускной каналы соединяются между собой. Здесь заканчивается рассечка, разделяющая задний подъемный канал и средний опускной канал.

    23-й и 24-й ряды — кладка перекрытия заднего и среднего каналов.

    25-й и 26-й ряды — установка прочистной дверки. Подвертка от среднего канала второго яруса к дымовой трубе.

    27-й ряд — начало кладки дымовых каналов второго яруса.

    28-й ряд — установка вьюшечной задвижки.

    29–30-й ряды — кладка дымовых каналов второго яруса.

    31-й ряд — кладка выпусков для перекрыши печи.

    32-й ряд — начало кладки перекрыши печи, ведется с обязательной перевязкой швов. Для уменьшения потери теплоотдачи устанавливают вторую вьюшечную задвижку.

    33-й и 34-й ряды — кладка перекрыши печи.

    35-й ряд и далее — кладка дымовой трубы сечением 13 х 13 см.

    Прямоугольная печь (2)

    Устройство

    По своей конструкции эта печь похожа на предыдущую, однако обладает повышенной теплоотдачей, благодаря чему может отапливать помещения большей площади.

    Она также снабжена системой нижнего прогрева, в ней можно сжигать любые виды топлива.

    Материалы

    — кирпич обыкновенный — 578 шт.;

    — глина обыкновенная — 0,5 м3;

    — песок — 0,5 м3;

    — дверка поддувальная 140 х 250 мм — 1 шт.;

    — дверка топочная 260 х 270 мм — 1 шт.;

    — дверка прочистная 130 х 140 мм — 3 шт.;

    — вьюшечная задвижка 250 х 130 мм — 2 шт.;

    — решетка колосниковая 250 х 250 мм — 1 шт.;

    — рубероид для гидроизоляции — 3 м2.

    Последовательность кладки (рис. 47)

    Рис. 47. Прямоугольная печь, конструкция 2. Последовательность кладки

    Кладка такая же, как в первом варианте прямоугольной отопительной печи, кроме 32-го и 36-го рядов. На них ставятся вьюшечные задвижки.

    Русская печь

    Устройство

    Как уже говорилось в главе, посвященной устройству печей, русская печь, помимо ряда достоинств, обладает и таким недостатком, как преимущественный прогрев только верхних слоев воздуха. Однако она по-прежнему остается одной из самых популярных разновидностей печей, совмещающих в себе отопительные и варочные функции.

    Составные элементы обыкновенной русской печи показаны на рис. 48 .

    Рис. 48. Составные элементы русской печи: а — подпечье; б — ниша; в — шесток; г — горнило; д — душник; е — щиток; ж — задвижки; з — дымовая труба; и — перекрыша горнила

    Материалы

    Русские печи бывают большими, средними и малыми. Здесь мы рассмотрим вариант сооружения малой печи, имеющей размеры 1270 х 650 х 2380 мм. Для нее вам понадобятся следующие материалы:

    — кирпич обыкновенный — 1610 шт.;

    — раствор глиняный — 1200 л;

    — заслонка из листовой стали 430 х 340 мм — 1 шт.;

    — задвижка вьюшечная 300 х 300 мм — 2 шт.;

    — самоварник 140 х 140 мм — 1 шт.

    Последовательность кладки (рис. 49)

    Рис. 49. Русская печь. Последовательность кладки

    1-й ряд — выкладывание подпечья. Кладка осуществляется главным образом из целого кирпича на растворе, предназначенном для фундамента.

    2–4-й ряды — кладка колодца с обязательной перевязкой швов. С одной стороны необходимо оставить отверстие для подпечья.

    5-й ряд — начало кладки свода над подпечьем. Боковые ряды выкладываются пятами для опоры свода, на них сооружают опалубку.

    6-й и 7-й ряды — свод, перекрывающий подпечье.

    8-й ряд — замок свода.

    9-й и 10-й ряды — кладка в один кирпич.

    11-й ряд — выкладывание перекрытия «холодной печурки», расположенной над подпечьем. Пространство внутри кладки засыпают и выравнивают с наклоном от задней стенки варочной камеры к шестку.

    12-й ряд — кладка пода, которую, как правило, осуществляют из специального подового кирпича. Под посыпают мелкозернистым песком и выравнивают кирпичом.

    13-й ряд — первый ряд варочной камеры, выкладывается в 3/4 кирпича. Угловые кирпичи передней стенки необходимо отесать под углом 45° и закрепить в замок. В этом ряду кладка не связывается, перевязка швов обязательна.

    14–16-й ряды — класть так же, как 13-й ряд.

    17-й ряд — укладка свода устья и закладка пят под свод варочной камеры. Для кладки пят используется стесанный кирпич, поставленный на ребро.

    18-й ряд — кладка стенок печи и печурок. В качестве альтернативного варианта можно залить пространство между сводом варочной камеры и стенками песком или глиняным раствором с кирпичным щебнем в качестве наполнителя.

    19-й ряд — выкладывание стенок свода, устройство арочного перекрытия отверстия над шестком.

    20-й ряд — используя обрубленный кирпич, уменьшают отверстие над шестком (перетрубье), а также делают перекрытие над каналом для самоварника.

    21-й ряд — выравнивание стен и уменьшение перетрубья.

    22-й ряд — уменьшение перетрубья. Закладка канала самоварника. Кирпич с правой стороны перетрубья стесывают, кладку над сводом выравнивают. Выкладывают ящик для сажи.

    23-й ряд — устраивается самоварник, который закрывается крышкой.

    24–32-й ряды — устанавливают вьюшечные задвижки.

    С 32-го ряда начинается кладка трубы с сечением дымового канала в 2 кирпича.

    Печь дачная

    Ниже приводится пример кладки сравнительно простой небольшой по размеру печи: ширина — 510 мм, длина — 770 мм, высота — 2150 мм, с теплоотдачей 1760 ккал/ч (рис. 50, 51) .

    Рис. 50. Печь дачная. Устройство: 1 — гидроизоляция; 2 — поддувало; 3 — топливник; 4 — чистка; 5 — задвижки

    Рис. 51. Печь дачная. Последовательность кладки

    Рис. 51 (продолжение). Печь дачная. Последовательность кладки

    Рис. 51 (продолжение). Печь дачная. Последовательность кладки

    Материалы:

    — кирпич обыкновенный (красный) — 210 шт.;

    — кирпич тугоплавкий — 76 шт.;

    — раствор глиняный — 80 л;

    — глина тугоплавкая с шамотом — 25 кг;

    — песок — 35 м3;

    — решетка колосниковая 252 х 250 мм — 1 шт.;

    — дверка топочная 250 х 205 мм — 1 шт.;

    — дверка поддувальная 130 х 140 мм — 1 шт.;

    — дверка прочистная 130 х 140 мм — 1 шт.;

    — задвижка дымовая 130 х 130 мм — 2 шт.;

    — лист предтопочный 500 х 700 мм — 1 шт.;

    — толь или рубероид для гидроизоляции — 2 м2.

    Тугоплавкий кирпич может быть заменен обыкновенным отборным кирпичом, но срок его службы будет много меньше, чем у тугоплавкого. Кладку следует вести с тщательной перевязкой швов, в точном соответствии с приведенными порядовками.

    1-й ряд — выкладывается строго по угольнику; в середине кладки устраивают зольник размером 250 х 250 мм со стесыванием кирпича с левой стороны кладки, то есть с передней стороны печи, для легкого удаления золы.

    2-й ряд — установка поддувальной дверки с опорой на первый ряд и ее закрепление.

    3-й ряд — выкладывается аналогично предыдущему с измененным рисунком кладки для обеспечения перевязки швов.

    4-й ряд — кладка перекрытия поддувальной дверки; уменьшение размеров зольника (на 20 мм меньше длины и ширины колосниковой решетки) так, чтобы уложенная на него колосниковая решетка не проваливалась вниз.

    5-й ряд — сначала укладывается колосниковая решетка прорезями вдоль печи; затем кладка ведется так, чтобы кирпичи на 10 мм не доходили до колосниковой решетки по всем сторонам. Этот зазор необходим, чтобы избежать расстройства кладки из-за расширения нагреваемого металла решетки. Кирпич со стороны топочной дверки стесывают на конус, чтобы обеспечить скатывание топлива на колосниковую решетку.

    6-й ряд — начало кладки топливника; установка топочной дверки с опорой на 5-й ряд. Кирпич с задней стороны топливника стесывают.

    7–8-й ряды — кладка ведется с обязательной перевязкой швов.

    9–11-й ряды — кладка с перекрытием топочной дверки.

    12-й ряд — выкладывается так, чтобы сузить топливник; для этого кладку выполняют из трехчетверток. Канал после кладки имеет форму буквы Т.

    13–14-й ряды — устройство перекрытия топливника в два ряда кладки. С задней стороны топливника остается канал размером в один кирпич.

    15-й ряд — устройство с передней стороны чистки с опорой ее на предыдущий ряд. Чистка ставится против канала трубы. На разрезе видно, что против чистки образуется как бы ящик, в котором при чистке трубы будет собираться сажа.

    16–17-й ряды — просты по кладке и похожи один на другой. В 17-м ряду перекрывается дверка чистки.

    18–20-й ряды — похожи друг на друга, выполняются с обязательной перевязкой швов. Горизонтальное пространство делится на две части, с левой стороны оставляют канал (отверстие) размером 130 х 260 мм.

    21-й ряд — кладка ведется так, чтобы канал над трубой стал несколько уже; для этого кладут трехчетвертку, и он сужает канал с одной стороны на 1/2 кирпича. Это необходимо для того, чтобы удержать кирпич, перекрывающий половину канала.

    22-й ряд — сначала ведется кладка с перекрытием половины канала с левой стороны; на оставшейся половине канала ставят задвижку.

    23-й ряд — выкладывается с образованием над задвижкой канала размером 130 х 130 мм.

    24–27-й ряды — с левой стороны печи канал расширяется до размера 130 х 260 мм; с правой стороны, начиная с 18-го ряда, канал остается размером 260 х 260 мм.

    28-й ряд — похож на 21-й ряд, только канал с правой стороны уменьшают до размера 260 х 130 мм.

    29-й ряд — перекрывает верх печи, и на нем ставят вторую задвижку.

    30–31-й ряды — в два слоя перекрывают верх печи в соответствии с правилами противопожарной безопасности.

    32-й ряд — закладка основания трубы из четырех кирпичей с каналом 130 х 130 мм. Если печь кладут в помещении высотой 2,7 м, то между 19-м и 20-м рядами следует положить дополнительно три ряда кладки с точным соблюдением перевязки швов. Сложив печь, приступают к кладке трубы, строго соблюдая перевязку швов и требования противопожарной безопасности.

    Дымовая труба

    Печные трубы подразделяются на стенные (проходящие во внутренних капитальных кирпичных стенах здания), коренные (в виде отдельно стоящего трубного стояка около печи) и насадные (устанавливаемые непосредственно на печах). Наиболее часто сооружают насадные трубы, однако устраивать их на печах со стенками толщиной в 1/4 кирпича нельзя, так как под тяжестью трубы может развалиться печь.

    Над кровлей дымовые трубы выводят так, чтобы они располагались как можно ближе к коньку крыши. У насадных труб соблюдение этого требования зависит от расположения печи в помещении. Высота трубы определяется расстоянием, на которое она отстоит от конька. Головку трубы выводят на 0,5 м выше конька в том случае, если она отстоит от конька не более чем на 1,5 м.

    Головку выводят до уровня конька крыши тогда, когда она находится от конька на расстоянии 1,5–3 м, и ниже уровня конька — при расстоянии более 3 м.

    Во всех случаях труба должна возвышаться над крышей не менее чем на 0,5 м. Если кирпичная труба близко подходит к высокой стене или деревьям с густой кроной, ее наращивают стальной, асбестоцементной или керамической трубой. Присоединение нескольких печей к общему дымоходу надо делать так, чтобы не нарушить тяги. В исключительных случаях допускается присоединение к одному дымоходу двух печей, находящихся на одном этаже.

    Для этого в общем канале выполняют рассечку, то есть внутри канала возводят перегородку высотой от 750 до 1000 мм, или же присоединяют печи к дымоходу на разных уровнях. Это делается для того, чтобы исключить встречное движение дымовых газов. Размер общего дымового канала должен быть не менее 140 х 270 мм.

    Если коренная труба или стенные дымоходы удалены от печи, то она подключается к дымоходам с помощью перекидного рукава, или патрубка (горизонтального дымового канала), выложенного кирпичом в футляре из кровельной стали и поддерживаемого балочками из стальных уголков, которые одним концом опираются на стенку с дымоходами или на коренную трубу, а другим — на стенку печи.

    Длина рукава не должна превышать 2 м. Стенки и дно рукава выкладывают из кирпича на ребро (в 1/4 кирпича), а верх рукава — из двух рядов кирпичей, положенных плашмя с тщательной перевязкой швов. Для удаления сажи из рукава в нем делают прочистную дверку. Перекидной рукав устанавливают с подъемом в сторону движения газов под углом примерно 10°, чтобы улучшить тягу.

    Расстояние между верхом патрубка и потолком должно быть не менее 0,4 м, если потолок защищен от возгорания (оштукатурен, обит двумя слоями войлока или асбеста, а по ним кровельной сталью), и не менее 0,5 м при незащищенном потолке. Такие же условия соблюдаются при сооружении патрубка около стен и перегородок. Прокладывать патрубок на чердаке не рекомендуется из-за повышения вероятности образования конденсата и пожароопасности. Кроме того, патрубки часто снижают тягу в печи.

    Дымовые каналы в зависимости от мощности печей бывают разных размеров:

    — 130 х 130 мм для печей с теплоотдачей до 3000 ккал/ч;

    — 130 х 190 мм для печей с теплоотдачей до 4500 ккал/ч;

    — 130 х 260 мм для печей с теплоотдачей до 6000 ккал/ч при двух топках в сутки.

    Допустимы и другие размеры, которые встречаются в различных печах.

    Если для кладки труб применяют колотый кирпич, то его надо укладывать тесаной или колотой стороной наружу, а гладкой — внутрь канала. Обычно трубы кладут толщиной в 1/2 кирпича. Ее можно полностью класть на глиняный раствор, но для большей прочности лучше, если над крышей кладка выполняется на смешанный цементно-известковый или чистый цементный раствор.

    Насадную трубу устанавливают на печи, кладку которой не доводят до чердачного перекрытия на 2–3 или более рядов. Отсюда начинается кладка шейки печи, в которую полезно поставить задвижку. За один ряд до перекрытия начинают уширять кладку, создавая в толще перекрытия разделку, или распушку, с толщиной стенок 0,25 м или даже 0,4 м, то есть в 1 или 11/2 кирпича.

    Выкладывают ее в несколько рядов по высоте. Выше распушки, которая должна быть такой толщины, чтобы выступала над перекрытием не менее чем на три ряда кладки, по чердачному пространству проходит стояк — ровная часть трубы, доходящая до кровли.

    Выше кровли выполняют вторую распушку (выдру), которая на 60–100 мм нависает над кровлей по всем сторонам трубы. Этот своеобразный козырек отводит на кровлю стекающую по трубе воду во время дождя или таяния снега. Если этого не сделать, то вода будет течь по стояку, разрушая его. Выше выдры кладут шейку трубы такого же размера, как и стояк. Далее кладка уширяется, образуя оголовок трубы.

    Для предохранения трубы от разрушения на ней устанавливают колпак или флюгарку, например из кровельной стали, которая, помимо защиты трубы, еще и улучшает тягу в печах. Выступающую над кровлей распушку рекомендуется покрыть кровельной сталью или обмазать цементным раствором, обеспечив поверхности некоторый уклон для стекания воды.

    Трубу лучше всего оштукатурить цементно-известковым или цементным раствором и побелить. Оштукатуренные трубы служат гораздо дольше, а на побелке хорошо видны трещины, которые надо заделать. На рисунке показана кладка распушки и выдры для трубы с дымовым каналом размером 140 х 270 мм (рис. 52) .

    Рис. 52. Труба: основные части

    Рис. 52 (продолжение). Труба: порядовки; 1–7 — шейка и распушка; 1–10 — выдра

    Кладка распушки начинается на расстоянии от перекрыши печи, на которой устанавливается насадная труба. Это расстояние может составить несколько рядов кладки, часто называемых шейкой печи.

    Кладка выполняется в следующем порядке:

    1-й ряд — шейка трубы; выполняется из пяти кирпичей с дымовым каналом 140 х 270 мм (в 1 кирпич) и наружными размерами 510 х 380 мм.

    2-й ряд — начало распушки с наружными размерами 590 х 450 мм; для получения таких размеров в кладку вставляют четвертки и половинки кирпича. Внутри распушки для ограничения размеров канала вставляют пластинки из колотого кирпича толщиной по 30–40 мм. Такие вставки различной толщины делают в процессе кладки постоянно, чтобы сечение канала оставалось без изменений.

    3-й ряд имеет внешние размеры 650 х 510 мм; внутри канала ставят пластинки толщиной около 60 мм.

    4-й ряд размером 710 х 570 мм; внутри канала ставят кирпичи толщиной 90–100 мм.

    5–6-й ряды кладут полностью из целого кирпича, строго соблюдая перевязку швов. При необходимости увеличить высоту распушки повторяют кладку этих рядов.

    7-й ряд — начало кладки стояка трубы в 5 кирпичей. Стояк выводят на 1–2 ряда выше кровли; затем выкладывают выдру.

    Выдру кладут на стояке с тщательной перевязкой швов. В рассматриваемом варианте кладка состоит из девяти рядов. Каждый ряд выступает за пределы стояка на четверть кирпича. Внутри выдры вставляют кирпичные пластинки такой толщины, чтобы они сохраняли без изменения размеры канала.

    1-й ряд кладут в 5 кирпичей, он является продолжением стояка.

    2-й ряд увеличивает только кладку по длине на 1/4 кирпича в обе стороны, для чего приходится вставлять половинку и трехчетвертку, а в канале — пластинку из кирпича.

    3-й ряд кладут так, что его длина остается без изменения, а ширина с одной стороны (нижней части выдры) увеличивается на 1/2 кирпича для образования свеса.

    4-й ряд кладут с увеличением свеса с боковых сторон.

    5–7-й ряды кладутся так, чтобы свес с боковых сторон удлинился до размера в 2,5 кирпича.

    8–9-й ряды завершают выкладку свеса с последней, четвертой стороны.

    10-й ряд — кладка шейки трубы — выполняется, как и стояк, из 5 кирпичей.

    Полностью выложив шейку трубы, приступают к оголовку, кладка которого не представляет труда, поскольку выполняется так же, как и распушка. В рассмотренном варианте кладки выдры следует обратить внимание на то, что ее правая сторона, начиная со 2-го ряда, уширяется на 1/4 кирпича по сравнению с кладкой стояка. Для того чтобы обеспечить сток воды с оголовка трубы и выдры и тем самым предохранить их от быстрого разрушения, на них укладывают цементный раствор, разравнивают его так, чтобы он имел уклон наружу от канала, и заглаживают. Кладка распушки из кирпича — дело достаточно сложное. Поэтому иногда их делают из железобетона или из бетона, но последний менее прочен.

    Выдру также иногда делают в виде ровной железобетонной плиты толщиной 20–30 мм или плиты с откосами (с уклоном). Плита должна выходить за пределы трубы (нависать) по всем сторонам не менее чем на 100 мм. На нижней поверхности выдры обязательно устраивают слезник — желобок глубиной не менее 5 мм, на расстоянии 10–15 мм от краев плиты. Слезник предохраняет нижнюю часть трубы от намокания во время дождя и попадания дождевой воды на чердак. Кирпичные трубы на 100 мм выше и ниже кровли следует оштукатурить цементно-известковым раствором.

    Трубы необходимо не реже одного, а лучше два раза в год осматривать и при обнаружении дефектов тут же их исправлять. Часто при строительстве печей, особенно в садовых домиках, вместо кирпичных ставят асбестоцементные или керамические трубы. Отверстие такой трубы должно соответствовать площади дымового канала печи. Они прочны, легки и не имеют швов. Их можно устанавливать как на кирпичной кладке, так и на бетонной плите простой формы, но лучше всего на плите специального изготовления, где для трубы сделана выемка или муфта.

    Плиту под трубу можно делать бетонную, но лучше железобетонную толщиной не менее 50 мм. Она может быть простой или с бортиками высотой до 400–500 мм, т. е. больше толщины перекрытия, образуя как бы ящик, который заполняется кирпичной кладкой, сухим шлаком, песком, сухой землей без растительных примесей и другими материалами.

    Выдру для такой трубы выполняют квадратной или круглой формы, монолитной или сборной из двух половинок, скрепляемых после установки на трубе. Чтобы выдра не могла опуститься вниз, трубу под ней покрывают слоем цементного раствора. На верх трубы лучше всего надеть колпак. Трубы следует прочно укреплять на чердаке, чтобы они не могли колебаться. Недостаток таких труб — тонкие стенки, которые быстро нагреваются, но так же быстро и остывают, что способствует образованию конденсата.

    При сооружении печи следует обратить внимание на утепление чердачного пространства и находящихся там труб. Это обязательное условие для успешной борьбы с конденсатом.

    Существует несколько способов утепления труб. Самый простой и наименее трудоемкий — обернуть трубу матами, изготовленными из шлаковаты или стекловаты и стеклоткани. При отсутствии этих материалов трубы утепляют с помощью слоя штукатурки, облицовкой шлакобетонными плитами, засыпкой вокруг трубы песка, шлака, сухой земли и прочих теплоизолирующих материалов.

    Для оштукатуривания используют известково-шлаковый раствор с небольшой добавкой цемента. Чтобы штукатурка не отваливалась, вокруг трубы на расстоянии 20–30 мм устраивают арматуру, поверх которой крепят металлическую сетку. Сетку и арматуру заполняют тестообразным глиняным раствором, который, застывая, образует достаточно прочное теплоизолирующее покрытие толщиной 50–70 мм.

    Оштукатуривание выполняется только летом. Шлакобетонные плиты могут быть плоскими (для кирпичных труб) или сегментообразными (для асбестоцементных труб); толщина плит — 50–70 мм. Готовые плиты накладывают на трубу и скрепляют проволокой; швы тщательно промазывают цементным раствором. Облицовка может прилегать к трубе вплотную или же отстоять от нее на некотором расстоянии. В этом случае пространство между облицовкой и трубой засыпают сухим шлаком.

    Иногда трубы утепляют с помощью щитов из кровельной стали или асбестоцементных листов (укрепленных на деревянных рамах), которые устанавливают на расстоянии 50–100 мм от поверхности трубы, а образовавшееся между трубой и щитами пространство засыпают шлаком, сухой землей и т. д. Утепление труб систематически надо проверять и обнаруженные дефекты тут же устранять.

    Печьэкономка

    В основе этой печи лежит уже известная вам конструкция русской печи. Однако экономка обладает тем преимуществом, что ее устройство предполагает нижний прогрев, благодаря которому в помещении нагреваются все слои воздуха. В отличие от классической русской печи экономку можно топить любыми видами топлива, а не только дровами.

    Теперь перейдем к устройству печи (рис. 53) .

    Рис. 53. Печьэкономка. Устройство

    Печь имеет два топливника: одним пользуются для отопления и выпечки хлебопродуктов, другой (малый) служит для приготовления пищи в летнее время, когда обогрев помещения не нужен. Малый топливник соединен с основным, для того чтобы горячие газы проходили через него в дымоход.

    Печь снабжена жарочной чугунной плитой с двумя конфорками (она устанавливается в шестке) и оборудована водогрейной коробкой.

    Материалы:

    — кирпич обыкновенный — 750 шт.;

    — глина — 0,5 м3;

    — песок — 0,5 м3;

    — решетка колосниковая 120 х 140 мм — 1 шт.;

    — решетка колосниковая 180 х 250 мм — 2 шт.;

    — дверка топочная 280 х 270 мм — 1 шт.;

    — дверка топочная 250 х 210 мм — 1 шт.;

    — дверка поддувальная 140 х 270 мм — 1 шт.;

    — дверка поддувальная 130 х 140 мм — 1 шт.;

    — дверка прочистная 130 х 140 мм — 4 шт.;

    — плита чугунная с двумя конфорками — 1 шт.;

    — задвижки вьюшечные 130 х 250 мм — 2 шт.;

    — заслонка 400 х 420 мм — 1 шт.;

    — коробка водогрейная — 1 шт.;

    — сталь полосовая 40 х 10 х 850 мм;

    — сталь полосовая 40 х 10 х 500 мм;

    — сталь угловая 25 х 25 х 3 мм;

    — сталь круглая сечением 16 мм — 350 мм;

    — проволока для связей сечением 6 мм — 10 м.

    Последовательность кладки

    Вариант без водогрейной коробки (рис. 54)

    Рис. 54. Печьэкономка, вариант без водогрейной коробки. Последовательность кладки

    1-й ряд — кладка стенки печи целыми кирпичами с обязательной перевязкой швов. Середину можно выложить половинками.

    2-й ряд — закладка поддувала под основной топливной камерой. Передний кирпич зольника стесывается. Закладка прочистных отверстий и столбиков для перегородок.

    3-й ряд — установка дверки поддувала основного топливника. Кладка столбиков.

    4-й ряд — кладка поддувала под второй топливной камерой и установка дверки. Кладка перекрытий чистки.

    5-й ряд — на столбики укладывается кирпичная перегородка толщиной в 1/2 кирпича и закрепляется в стенках в замок. Перекрытие дверки поддувала основного топливника. Сужение поддувала.

    6-й ряд — установка колосниковых решеток в основной и дополнительный топливники. Над решеткой дополнительного топливника передние и задние кирпичи стесываются на конус.

    7-й ряд — установка дверки основной топливной камеры.

    8-й ряд — установка дверки дополнительной топливной камеры. Расширение кладки основного топливника в сторону перегородки.

    9-й ряд — сужение кладки канала от основного топливника. Расширение перегородки.

    10-й ряд — первый ряд пода. Около задней стенки по всей длине варочной камеры оставляют пространство шириной 7–10 см.

    11-й ряд — второй ряд пода. Дверки обоих топливников перекрываются. Закрепление стальными уголками кладки с передней стороны.

    12-й ряд — канал перекрывается над топливниками чугунной плитой.

    13-й и 14-й ряды — кладка осуществляется в соответствии с чертежом.

    15-й ряд — между боковыми стенками устанавливаются связи из полосовой стали и закрепляются шайбами и гайками. Если чело не перекрыто аркой, оно перекрывается полосой стали 4 х 1 х 85 см. Заднюю и боковые стенки варочной камеры выкладывают толщиной в кирпич со скошенной на конус нижней частью.

    16-й ряд — перекрытие чела, продолжение связей по ширине. Стенки варочной камеры выкладываются толщиной в полномерный кирпич.

    17-й ряд — установка связей по боковым стенкам осуществляется так же, как и в 15-м ряду. С передней и боковой сторон устанавливается основание для перетрубья из полосовой стали. В кирпиче делаются пазы для стальных полос. В углу устанавливается поддерживающая металлическая стойка.

    18-й ряд — первый ряд кладки варочной камеры, имеющей форму свода. Свод опирается на кирпичи 16-го ряда с наклоном внутрь, под них подкладываются куски кирпича на глиняном растворе. Перекрывается шесток, в основу перетрубья кладутся стальные полосы. В передней части свода оставляют четыре отверстия размером 7 х 12 см.

    19-й ряд — последний ряд кладки свода.

    20-й ряд — кладка стенки печи выше свода на два ряда. Над четырьмя отверстиями, оставленными в 18-м ряду, образуется сборный канал. Отверстие перетрубья сужается. С правой стороны стенку скрепляют замком.

    21-й ряд — первый ряд вентиляционного канала, имеющего сечение 7 х 25 см. Сборный канал имеет форму балалайки.

    22-й ряд — стесывается на конус передний кирпич сборного канала. Уменьшается размер сборного канала, увеличивается до 12 х 19 см размер вентиляционного канала.

    23-й ряд — вентиляционному каналу придается квадратная форма.

    24-й ряд — установка задвижки над вентиляционным каналом.

    25-й ряд — изменение формы дымового канала.

    26-й ряд — продолжение изменения формы дымового канала. Его размеры доходят до одного кирпича.

    27-й ряд — установка задвижки над дымовым каналом.

    28-й ряд — два вертикальных канала соединяют в один горизонтальный Г-образной формы для выхода воздуха из вентиляционного канала в трубу над дымовой задвижкой.

    29-й ряд — перекрытие вентиляционного канала стальными полосами.

    30-й ряд — кладка осуществляется в соответствии с чертежом.

    31-й и 32-й ряды — кладка перекрыши.

    33-й и 34-й ряды — кладка дымовой трубы в один кирпич.

    Вариант с водогрейной коробкой

    1-й ряд — выкладывается так же, как и в первом варианте.

    2-й ряд — закладка чистки и поддувала под основной топливной камерой.

    3-й ряд — устанавливается поддувальная дверка основной топливной камеры. Оставляется отверстие для поддувала дополнительного топливника.

    4-й ряд — устанавливается поддувальная дверка второй топливной камеры.

    5-й ряд — перекрытие дверки поддувала основного топливника, отверстие над поддувалом сужается. С правой стороны печи устанавливается водогрейная коробка. Слева от нее оставляется канал размером 7 х 21 см. На столбики кладется перегородка.

    6-й ряд — над обоими поддувалами устанавливают колосниковые решетки. Перекрывается дверка дополнительной топливной камеры.

    7-й ряд — устанавливается топочная дверка основного топливника.

    8-й ряд — ведется кладка на уровне верха водогрейной коробки. Между кирпичом и верхом коробки оставляется подвертка высотой 7 см. Наискосок над коробкой укладывают на кирпичи стальную полосу.

    9-й ряд — перекрыша водогрейной коробки.

    В дальнейшем кладку ведут точно так же, как и в варианте для печи без водогрейной коробки.

    Отопительно-варочная печь конструкции И.Ф. Волкова

    Устройство (рис. 55, а)

    Рис. 55. Печь И.Ф. Волкова: а — устройство; б — последовательность кладки

    Печь имеет размеры 108 х 89 х 234 см. В конструкцию плиты включена чугунная жарочная плита, заключенная в варочную камеру, из которой выходит вытяжной канал. Предусмотрены также водогрейная коробка и духовой шкаф. Конструкция плиты позволяет топить ее в двух режимах теплоотдачи — зимнем и летнем.

    Материалы:

    — кирпич обыкновенный — 420 шт.;

    — кирпич огнеупорный — 100 шт.;

    — раствор глиняный обыкновенный — 200 л;

    — раствор глиняный огнеупорный — 50 кг;

    — дверка топочная 210 х 250 мм — 1 шт.;

    — дверки поддувальные и прочистные 130 х 130 мм — 5 шт.;

    — дверка для варочной камеры 380 х 640 мм — 1 шт.;

    — плита чугунная с конфоркой — 2 шт.;

    — плита чугунная 180 х 530 мм — 1 шт.;

    — коробка водогрейная 150 х 280 х 570 мм — 1 шт.;

    — шкаф духовой 300 х 280 х 570 мм — 1 шт.;

    — решетка сушильная 350 х 580 мм — 1 шт.;

    — решетка колосниковая 180 х 250 мм — 1 шт.

    Последовательность кладки (рис. 55, б)

    1-й ряд — сплошная кладка, оставляется место для зольника размером 25 х 13 мм. Один кирпич стесывают, делая наклон в сторону зольника.

    2-й ряд — кладка ведется с перевязкой швов, устанавливается поддувальная дверка.

    3-й ряд — устанавливается первая прочистная дверка справа от поддувальной, поддувальное отверстие делают при помощи стесанного кирпича.

    4-й ряд — устанавливается вторая прочистная дверка на правой стенке печи, перекрывается дверка поддувала, а возле второй прочистной дверки кладут половинку кирпича, которая послужит опорой для духового шкафа.

    5-й ряд — кладка из огнеупорного кирпича, устанавливается колосниковая решетка над отверстием зольника, перекрывается первая чистка.

    6-й ряд — устанавливается духовка и топочная дверка.

    7-й ряд — перекрывается канал. Кирпичом, установленным на ребро, обкладывают боковые стенки духовки.

    8-й ряд — целиком перекрывается канал за духовкой.

    9-й ряд — заканчивается облицовка духовки со стороны топливника. Верхний кирпич выпускают примерно на 1,5 см выше духовки и стесывают. Верх духовки покрывают глиняным раствором.

    10-й ряд — перекрываются дверка топки и перегородка между духовкой и стенкой печи.

    11-й ряд — устанавливаются чугунные плиты с конфорками над топкой, водогрейная коробка и дверка варочной камеры. Водогрейная коробка должна отстоять от варочной камеры на 5–7 см (толщина кирпича, уложенного на ложок).

    12-й ряд — начало перекрытия горизонтального канала.

    13-й ряд — завершение перекрытия горизонтального канала.

    14-й ряд — удлиняют горизонтальный канал, позади водогрейной коробки кладут кирпич, стесанный в задней части.

    15-й ряд — перекрытие водогрейной коробки.

    16-й ряд — сдвигают канал над водогрейной коробкой на полкирпича вперед, по трем сторонам варочной камеры кладут 5 кусков полосовой стали длиной 12 см, шириной 2,5 см и толщиной 3 мм, концы должны заходить в варочную камеру на 2 см. Два куска такой же стали длиной 15 см подкладывают под кирпич с задней стороны печи.

    17-й ряд — укладывают решетку для сушки и устанавливают чистку над водогрейной коробкой.

    18-й ряд — сужение канала над чисткой.

    19-й ряд — перекрытие чистки и установка летней задвижки.

    20-й ряд — с правой стороны варочной камеры устанавливают вытяжку. С внутренней стороны кладут стальной уголок.

    21-й ряд — перекрытие верха варочной камеры тремя полосками стали.

    22-й ряд — перекрытие варочной камеры, вытяжки, части заднего канала.

    23-й ряд — установка самоварника.

    24-й ряд — начало кладки верхней части печи, установка обеих чисток.

    25-й ряд — кладется так же, как и 24-й.

    26-й ряд — перекрытие чистки и горизонтального канала.

    27-й ряд — установка вертикальной задвижки.

    28-й и 29-й ряды — кладка по чертежу.

    30-й ряд — перекрытие верха печи, при этом оставляют один канал.

    31-й ряд — второй ряд перекрытия, установка последней горизонтальной задвижки.

    32-й ряд — третий ряд перекрытия.

    С 33-го ряда начинается кладка дымовой трубы.

    Отопительно-варочная печь конструкции К.Я. Буслаева

    Устройство (рис. 56)

    Рис. 56. Печь К.Я. Буслаева. Устройство

    Это очень удобная конструкция, предусматривающая преимущественно нижний прогрев и кухонную плиту с вытяжкой. При этом печь достаточно компактна (1020 х 770 х 2010 мм), имеет высокую теплоотдачу и может обогревать помещение большой площади.

    Материалы:

    — кирпич обыкновенный — 382 шт.;

    — кирпич огнеупорный — 43 шт.;

    — дверка топочная 250 х 205 мм — 1 шт.;

    — дверка поддувальная 140 х 140 мм — 1 шт.;

    — дверка варочной камеры 500 х 390 мм — 1 шт.;

    — шкаф духовой 500 х 330 х 280 мм — 1 шт.;

    — чугунная двухконфорочная плита 700 х 400 мм — 1 шт.;

    — задвижка дымовая 250 х 130 мм — 1 шт.;

    — задвижка паровытяжная 130 х 130 мм — 1 шт.;

    — колосниковая решетка 200 х 300 мм — 1 шт.;

    — уголок стальной 45 х 45 х 1010 мм — 3 шт.;

    — полоса стальная 350 х 25 х 3 мм — 4 шт.;

    20 х 25 х 2 мм — 4 шт.;

    1010 х 50 х 4 мм — 4 шт.;

    750 х 50 х 4 мм — 4 шт.;

    — лист кровельной стали 300 х 280 мм — 1 шт.;

    — плитки чугунные 400 х 250 мм, 400 х 150 мм — 2 шт.

    Последовательность кладки (рис. 57)

    Рис. 57. Печь К.Я. Буслаева. Последовательность кладки

    1-й ряд — сплошная кладка в соответствии с чертежом.

    2-й ряд — повторяется 1-й ряд с обязательной перевязкой швов. Установка поддувальной дверки.

    3-й ряд — закрепление поддувальной дверки. Под духовкой оставляется проем для прочистного окна.

    4-й ряд — кладка основания под духовой шкаф, который обкладывают со стороны топливника огнеупорным кирпичом и укрепляют листами кровельного железа с остальных трех сторон.

    5-й ряд — установка колосниковой решетки, укладка огнеупорным кирпичом основания топливника, установка топочной дверки, перекрытие поддувальной дверки и прочистного окна.

    6-й ряд — закрепление топочной дверки и духового шкафа.

    7-й ряд — обкладывание огнеупорным кирпичом, поставленным на ребро, стенок духового шкафа.

    8-й ряд — кладка в соответствии с чертежом.

    9-й ряд — духовой шкаф на 1 см покрывают глиняным раствором, перекрывают стальной полосой топочную дверку. Устанавливают чугунную плиту с конфорками, опирая ее на полосы 10-миллиметровой стали.

    10-й ряд — начало кладки дымооборота. Оставляют окошко для чистки, плиту с конфорками не закладывают. От плиты кладку ведут на ребро.

    11-й ряд — перекрытие первой чистки, устройство еще двух опускных каналов для прочистки. На кирпичи этого ряда устанавливают две стальные полосы около 25 см длиной, которые послужат основанием для висячих стенок.

    12-й ряд — перекрытие чисток опускных каналов. Крепится проволока, фиксирующая рамку дверки варочной камеры.

    13-й ряд — кладка кирпичами, поставленными на ребро, для устройства колпака-паросборника.

    14-й ряд — перекрытие варочной камеры. Оставляется отверстие для вытяжки.

    15-й и 16-й ряды — кладка в соответствии с чертежом с оставлением места для двух печурок.

    17-й ряд — малую печурку перекрывают листом кровельной стали, затем ведут кладку в соответствии с чертежом.

    18-й ряд — устройство в задней стенке большой печурки прочистного отверстия. Внутренние стенки первого и второго каналов не доводят до перекрытия на 20 и 13 см соответственно. Верхние грани этих стенок стесывают.

    19-й ряд — кирпич кладут плашмя, выводя наружу и внутрь печи выступом на 30 мм.

    20-й ряд — перекрытие дымохода. Повторяют выступ на 30 мм с наружной части печи. Установка стального уголка с краю и стальной полосы посередине для перекрытия печурки.

    21-й ряд — перекрытие большой печурки и части дымохода. По размеру этот ряд повторяет 19-й. Установка дымовой и паровой задвижек.

    22-й ряд — кладка шейки печи в три ряда. Размер дымохода постепенно уменьшают до 13 х 26 см для последующей установки второй задвижки.

    После этого начинают вести кладку дымовой трубы с разделками.

    Малая отопительно-варочная печь

    Устройство (рис. 58)

    Рис. 58. Малая отопительно-варочная печь. Устройство

    Печь этой конструкции может быть возведена в небольшом садовом домике. Помимо водогрейной коробки и жарочной плиты, печь оборудована камерой для просушивания фруктов и ягод.

    Материалы

    — кирпич обыкновенный — 225 шт.;

    — глина — 0,2 м3;

    — песок — 0,2 м3;

    — решетка колосниковая — 1 шт.;

    — дверка топочная 270 х 280 мм — 1 шт.;

    — дверка поддувальная 130 х 270 мм — 1 шт.;

    — задвижка вьюшечная — 1 шт.;

    — плита чугунная — 1 шт.;

    — коробка водогрейная 380 х 500 х 300 мм — 1 шт.;

    — камера сушильная 380 х 380 х 380 мм — 1 шт.;

    — сталь полосовая 450 х 40 х 3 мм — 3 шт.;

    — уголок стальной 45 х 45 х 3 мм — 8 шт.

    Последовательность кладки (рис. 59)

    Рис. 59. Малая отопительно-варочная печь. Последовательность кладки

    1-й и 2-й ряды — сплошная кладка.

    3–5-й ряды — выполняются по чертежу.

    6-й ряд — наращивание стенки зольника трехчетвертками, на образовавшийся выступ впоследствии устанавливают колосниковую решетку. Установка сушильной камеры.

    7-й ряд — установка топочной дверки и колосниковой решетки.

    8–10-й ряды — выполняются по чертежу.

    11-й ряд — стальные полосы укладывают поверх сушильной камеры и все вместе покрывают глиняным раствором.

    12-й ряд — выполняется по чертежу. Поверхность кирпичей покрывают раствором.

    13-й ряд — устанавливают чугунную плиту для приготовления пищи. Водогрейную коробку размещают рядом с трубой, частично перекрывая дымовой канал. На стенки трубы и водогрейной коробки наносят глиняный раствор и притирают водогрейную коробку к трубе.

    С 14-го ряда начинается кладка печной трубы.

    Малая отопительно-варочная печь с духовкой

    Эта печь предназначена для дачного домика или летней кухни. Она проста в исполнении, имеет малые размеры, многофункциональна (рис. 60) .

    Рис. 60. Малая отопительно-варочная печь с духовкой. Устройство

    Материалы:

    — кирпич обыкновенный — 220 шт.;

    — дверка топочная 250 х 205 мм — 1 шт.;

    — дверка поддувальная 140 х 140 мм — 1 шт.;

    — дверка прочистная 130 х 130 мм — 3 шт.;

    — шкаф духовой 320 х 280 х 420 мм — 1 шт.;

    — плита чугунная 380 х 350 мм с одной малой конфоркой — 1 шт.;

    — решетка колосниковая 300 х 200 мм — 1 шт.;

    — задвижка 270 х 130 мм — 2 шт.;

    — стальная полоса 350 х 250 х 4 мм — 1 шт.;

    — асбестоцементный лист толщиной 5–10 мм — 1 шт.

    Последовательность кладки (рис. 61)

    Рис. 61. Малая отопительно-варочная печь с духовкой. Последовательность кладки

    1-й и 2-й ряды — сплошная кладка в соответствии с чертежом.

    3-й ряд — установка поддувальной дверки, начало выкладывания зольника.

    4-й ряд — кладка в соответствии с чертежом.

    5-й ряд — перекрытие поддувальной дверки, установка колосниковой решетки поверх ряда. Между решеткой и кладкой оставляют зазор высотой около 4 мм.

    6-й ряд — рамку топочной дверки обматывают асбестовым шнуром, дверку закрепляют в кладке при помощи кляммеров.

    7-й и 8-й ряды — кладка ведется огнеупорным кирпичом в соответствии с чертежом.

    9-й ряд — закрепление топочной дверки. Начало формирования дымосборника.

    10-й и 11-й ряды — продолжение кладки дымосборника.

    12-й ряд — установка стальной полосы, которая будет поддерживать ряд кирпичей, уложенных на ребро: они будут разделять дымовой канал и варочную камеру. Установка чугунной плиты с одной конфоркой.

    13–15-й ряды — кладка варочной камеры кирпичами, уложенными на ребро. Перекрытие камеры асбестоцементным листом для облегчения кладки следующего ряда.

    16-й ряд — кладка дна первого полуоборота горизонтального канала.

    17-й и 18-й ряды — установка первой прочистной дверки. Вместо этого можно заложить прочистное отверстие половинкой кирпича на глиняном растворе, выступающей наружу на 1/4.

    19-й ряд — закрепление прочистной дверки, формирование центральной перемычки горизонтального дымооборота.

    20-й ряд — кладка в соответствии с чертежом с перевязкой швов.

    21-й и 22-й ряды — окончание горизонтального дымооборота, устройство еще одного прочистного отверстия.

    22–28-й ряды — установка духовки.

    27-й и 28-й ряды — устройство третьего прочистного отверстия.

    29–31-й ряды — кладка перекрытия печи, установка 1–2 задвижек.

    Печь Т-образной формы

    Печь этой конструкции имеет высокую теплоотдачу и предназначена для отопления помещений большой площади. Удобнее всего встраивать ее во внутренние стены и перегородки.

    Материалы

    — кирпич обыкновенный — 490 шт.;

    — глина — 0,5 м3;

    — песок — 0,5 м3;

    — проволока печная (2 мм) — 3 м;

    — толь для гидроизоляции — 3 м2;

    — колосниковая решетка 250 х 250 мм — 1 шт.;

    — дверка топочная 280 х 270 мм — 1 шт.;

    — дверка поддувальная 140 х 130 мм — 1 шт.;

    — дверка прочистная 140 х 130 мм — 3 шт.;

    — задвижка вьюшечная 250 х 130 мм — 1 шт.

    Последовательность кладки (рис. 62)

    Рис. 62. Печь Т-образной формы. Последовательность кладки

    Рис. 62 (продолжение). Печь Т-образной формы. Последовательность кладки

    1-й ряд — кладка основания зольника. Кирпич, расположенный за поддувальной дверкой, стесывается по направлению к задней части.

    2-й ряд — установка поддувальной дверки. В задней части оставляют канал с прочистной дверкой.

    3-й ряд — повторение кладки второго ряда с обязательной перевязкой швов.

    4-й ряд — кладка с увеличением толщины стенок до 18 см. Начало кладки рассечек для подъемных вертикальных каналов в задней части.

    5-й ряд — установка колосниковой решетки.

    6–9-й ряды — формирование топливной камеры размерами 26 х 51 см.

    8-й и 9-й ряды — производится соединение топливника с жаровой камерой.

    10-й ряд — перекрытие топочной дверки.

    11–13-й — продолжение кладки жаровой камеры с выпусками для перекрытия топливника.

    14-й ряд — установка прочистной дверки в передней стенке. Кладка столбика в 1/2 кирпича в передней камере для отделения от нее соединительных каналов и основания дымовой трубы.

    15–17-й ряды — повторение кладки предыдущего ряда с обязательной перевязкой вертикальных швов.

    18–21-й ряды — кладка основания рассечки верхней камеры и дымовой трубы, опирающегося на столбик.

    22-й и 23-й ряды — перекрытие нижней жаровой камеры.

    24-й ряд — начало соединения вертикального подъемного канала с верхней камерой при помощи горизонтального канала. Установка прочистной дверки для чистки горизонтального канала.

    25-й ряд — продолжение соединения вертикального канала с верхней камерой.

    26–29-й ряды — кладка перекрыши печи. На 28-м ряду устанавливают вьюшечную задвижку.

    30-й ряд — первый ряд кладки дымовой трубы с внутренним сечением 13 х 25 см.

    Круглая печь в металлическом футляре

    Устройство (рис. 63)

    Рис. 63. Круглая печь в металлическом футляре. Устройство

    Конструкций печей, имеющих в плане круглую форму, не так уж много. Большинство из них снабжены снаружи футляром из листового металла. Как правило, футляр состоит из трех отдельных секций (царг), которые насаживаются друг на друга. Футляр делает стенки печи абсолютно газонепроницаемыми, они прогреваются быстро и равномерно.

    Предлагаемая конструкция печи имеет диаметр 650 мм и высоту 2300 мм.

    Материалы:

    — кирпич обыкновенный — 195 шт.;

    — кирпич огнеупорный — 65 шт.;

    — глина обыкновенная — 0,05 м3;

    — глина огнеупорная — 11 кг;

    — песок — 0,03 м3;

    — дверка топочная 210 х 250 мм — 1 шт.;

    — решетка колосниковая 180 х 250 мм — 1 шт.;

    — дверка поддувальная 130 х 140 мм — 1 шт.;

    — дверка прочистная 130 х 140 мм — 2 шт.;

    — задвижка вьюшечная 130 х 130 мм — 2 шт.;

    — сталь кровельная для футляра — 6,5 м2;

    — рубероид для устройства гидроизоляции 750 х 750 мм — 2 листа.

    Последовательность кладки

    На стальных листах размечают и вырезают отверстия для топочной, поддувальной, прочистных дверок и вьюшечных задвижек.

    Сначала устанавливают первую царгу футляра на подготовленное основание. При помощи отвеса тщательно выверяют ее вертикальность, затем заполняют глиняным раствором швы между основанием и царгой.

    Завершив эту операцию, приступают к выполнению кирпичной кладки в соответствии с порядовкой, показанной на рис. 64 .

    Рис. 64. Круглая печь в металлическом футляре. Последовательность кладки

    Рис. 64 (продолжение). Последовательность кладки

    Прямоугольная бесканальная отопительная печь

    Несомненным преимуществом прямоугольной бесканальной отопительной печи (рис. 65) являются ее малые габариты и простота в исполнении. К тому же ее кладка потребует небольшого количества материала. Чистка печи упрощена: можно прочищать перекидной рукав, или боров, который соединяет печь со стенным дымоходом или коренной трубой. Задвижка устанавливается на границе между перекидным рукавом и дымоходом.

    Рис. 65. Прямоугольная бесканальная отопительная печь

    Рис. 65 (продолжение). Последовательность кладки

    Рис. 65 (продолжение). Последовательность кладки

    Материалы для кладки печи :

    — кирпич, включая огнеупорный, — 250 шт.;

    — дверка топочная 250 х 210 мм — 1 шт.;

    — дверка поддувальная 140 х 140 мм — 1 шт.;

    — дверка чистки 140 х 140 мм — 1 шт.;

    — решетка колосниковая 250 х 250 мм — 1 шт.;

    — лист предтопочный 500 х 500 мм — 1 шт.;

    — лист асбестовый (при установке печи на деревянном полу) 500 х 600 мм — 1 шт.;

    — уголок металлический 50 х 50 мм — 2 шт.

    Последовательность кладки

    1–2-й ряды — кладка основания печи размером 630 х 505 мм. 2й ряд выполняется из целого кирпича.

    3-й ряд — установка поддувальной дверки.

    4-й ряд — формирование топочной камеры (кирпич перед задней стенкой сдвигается в сторону поддувальной дверки по размеру имеющихся колосников).

    5-й ряд — установка колосниковой решетки, перекрывающей топочную дверку.

    6-й ряд — формирование топочной камеры из огнеупорного кирпича.

    7-й ряд — установка топочной дверки.

    8–9-й ряды — продолжение формирования топочной камеры из огнеупорного кирпича.

    10-й ряд — перекрытие топочной дверки.

    11–17-й ряды — кладка колодца прямоугольной формы с соблюдением перевязки швов между четными и нечетными рядами.

    18-й ряд — установка металлических уголков или стальных полос. Кирпичную кладку расширяют в сторону перекидного рукава.

    19-й ряд — устройство основания для установки чистки и перевальной стенки к малому верхнему газоходу.

    20-й ряд — установка прочистной дверки.

    21-й ряд — формирование прочистного канала и верхней части длинного газохода.

    22-й ряд — перекрытие дверки чистки.

    23–27-й ряды — выкладываются в соответствии с порядовкой.

    28–30-й ряды — кладка перекрыши печи.

    Прямоугольная отопительная печь с тремя вертикальными каналами

    Преимуществом этой печи (рис. 66) перед другими конструкциями является простота в исполнении. С ее кладкой вполне может справиться даже начинающий печник. Существенный недостаток печи — ее неравномерный прогрев: сверху печка прогревается сильнее, чем внизу.

    Рис. 66. Прямоугольная отопительная печь с тремя вертикальными каналами

    Рис. 66 (продолжение). Последовательность кладки

    Рис. 66 (продолжение). Последовательность кладки

    Материалы для кладки печи :

    — кирпич, включая огнеупорный, — 390 шт.;

    — дверка топочная 210 х 150 мм — 1 шт.;

    — дверка поддувальная 140 х 140 мм — 1 шт.;

    — дверка чистки 140 х 140 мм — 1 шт.;

    — задвижка 130 х 130 мм — 1 шт.;

    — лист предтопочный 500 х 700 мм — 1 шт.;

    — сталь кровельная 1000 х 500 мм — 1 шт.;

    — лист асбестовый 1000 х 500 мм — 1 шт.

    Последовательность кладки (ведется в 1/2 кирпича).

    1–2-й ряды — кладка из целого кирпича с соблюдением перевязки швов. Важно придерживаться установленных размеров и выдержать прямоугольную форму основания.

    3-й ряд — установка поддувальной дверки и дверки чистки между двумя вертикальными каналами.

    4-й ряд — формирование зольниковой камеры и переходной части между последним и предпоследним дымовым каналом.

    5-й ряд — поддувальная дверка и дверка чистки перекрываются таким образом, чтобы образовалось два дымовых канала и топочная камера, совмещенная с первым дымовым каналом.

    6-й ряд — установка колосниковой решетки.

    7-й ряд — выкладывается аналогично 6-му ряду с перевязкой швов.

    8-й ряд — установка топочной дверки.

    9–10-й ряды — формирование топочной камеры и двух дымовых каналов.

    11-й ряд — перекрытие топочной дверки.

    12–25-й ряды — кладка трех вертикальных дымовых каналов с соблюдением перевязки швов.

    26–27-й ряды — формирование верхнего горизонтального канала. В 27-м ряду устанавливается задвижка.

    28–30-й ряды — кладка перекрыши печи.

    31-й ряд — первый ряд формирования дымовой трубы.

    Прямоугольная толстостенная отопительная печь, отштукатуренная (ОПТ-3)

    Конструкция печи ОПТ-3 (рис. 67) предусматривает наличие комбинированной системы дымоходов и насадной трубы. Перекрытие топливника выполняется Г-образно, что дает возможность полностью выкладывать его из огнеупорного кирпича. Для топки печи можно использовать любое твердое топливо. ОПТ-3 прекрасно прогревается в своей нижней части. Как правило, ее размещают в стенных проемах, чтобы обеспечить отопление сразу двух смежных комнат. Топочную дверку необходимо располагать таким образом, чтобы производить топку из коридора или другой части дома.

    В четырехкомнатном доме общей площадью 70–80 м2 достаточно установить две печи ОПТ-3. Размеры печи составляют 1150 х 510 мм, высота — 2150 мм, а теплопроизводительность — 2670 Вт.

    Рис. 67. Печь ОПТ-3

    Рис. 67 (продолжение). Последовательность кладки

    Рис. 67 (продолжение). Последовательность кладки

    Материалы для кладки печи :

    — кирпич обыкновенный — 300 шт.;

    — кирпич огнеупорный — 160 шт.;

    — решетка колосниковая 252 х 300 мм — 1 шт.;

    — дверка топочная 250 х 205 мм — 1 шт.;

    — дверка прочистная 130 х 140 мм — 2 шт.;

    — дверка поддувальная 130 х 140 мм — 1 шт.;

    — задвижка 130 х 240 мм — 2 шт.;

    — лист предтопочный 500 х 700 мм — 1 шт.

    Последовательность кладки печи

    1-й ряд — выкладывается из целого кирпича.

    2-й ряд — выполняется перевязка кладки 1-го ряда. Кирпич перед поддувальной дверкой следует стесать.

    3–4-й ряды — установка поддувальной дверки и формирование зольной камеры, размер которой необходимо сузить до размера колосниковой решетки.

    5-й ряд — начиная с этого ряда, кладка ведется из огнеупорного шамотного кирпича.

    6-й ряд — установка колосниковой решетки. Кирпич между топочной дверкой и колосниковой решеткой следует стесать под углом в сторону решетки.

    7-й ряд — установка топочной дверки.

    8-й ряд — формирование топочного пространства и двух нижних вертикальных каналов.

    9-й ряд — кладка ведется аналогично 8-му ряду с соблюдением перевязки швов.

    10-й ряд — перекрытие топочной дверки.

    11–13-й ряды — кладка топки и двух нижних вертикальных каналов.

    14–15-й ряды — завершение устройства переходного горизонтального канала между двумя нижними вертикальными газоходами.

    16–17-й ряды — перекрытие топочного пространства и ближнего к топке вертикального газохода.

    18–19-й ряды — установка дверки чистки горизонтального канала.

    20-й ряд — начало формирования выходного газохода, в котором впоследствии будут установлены две задвижки.

    21–27-й ряды — формирование наружных стенок печи и трех перегородок верхних вертикальных каналов. На 23-м ряду производят установку задвижки.

    28–29-й ряды — формирование перевального газохода между верхними перегородками, подготовка места для установки задвижки.

    30-й ряд — установка задвижки.

    31–32-й ряды — завершение перекрытия печи.

    33-й ряд — начало формирования дымовой трубы в четыре кирпича.

    Прямоугольная толстостенная отопительная печь (ОПТ-11)

    Печь ОПТ-11 (рис. 68) обладает одним из наиболее высоких показателей по теплопроизводительности — 4900 Вт. Боковины топливника и двух первых каналов футерируются огнеупорным кирпичом. Футеровка производится на четверть кирпича. Горячие газы поднимаются из топки под перекрытие, расположенное на 16-м ряду кладки, и, ударяясь об него, по двум каналам опускаются. Благодаря такому движению газов нижняя часть печи хорошо прогревается. Дымовые газы проходят через нижнюю зону, поднимаются в верхний колпак, разделенный четырьмя перегородками, отдают тепло перекрыше и перегородкам, опускаются и выходят через дымовую трубу. В том случае, если топочные и поддувальные дверки закрываются герметично, в дымовой трубе можно установить одну задвижку.

    При футеровке топливника и опускных каналов следует учесть, что верхняя часть дымовой трубы не должна соприкасаться с кладкой перекрытия, потому что при нагревании кирпичная кладка будет расширяться, в результате чего горизонтальный шов между ее рядами может раскрыться. Кроме того, не рекомендуется перевязывать между собой кирпичи стенок топливника и футеровки.

    Поскольку топливник расположен в торце печи, ее можно устанавливать в перегородках между двумя смежными комнатами. Топка печи производится из коридора или другой части дома.

    Рис. 68. Печь ОПТ-11

    Рис. 68 (продолжение). Последовательность кладки

    Рис. 68 (продолжение). Последовательность кладки

    Материалы для кладки печи :

    — кирпич обычный — 510 шт.;

    — кирпич тугоплавкий — 250 шт.;

    — решетка колосниковая 252 х 300 мм — 1 шт.;

    — дверка топочная 250 х 205 мм — 1 шт.;

    — дверка поддувальная 130 х 140 мм — 1 шт.;

    — дверка прочистная 130 х 140 мм — 2 шт.;

    — заслонка дымовая 130 х 240 мм — 2 шт.;

    — лист предтопочный 500 х 700 мм — 1 шт.

    Последовательность кладки

    1-й ряд — кладка основания размером 1660 х 640 мм из целого кирпича.

    2-й ряд — подготовка места для зольника. Средний кирпич правой боковой стенки следует стесать.

    3-й ряд — установка поддувальной дверки.

    4-й ряд — кладка ведется аналогично 3-му ряду с соблюдением перевязки швов. Укрепляется поддувальная дверка.

    5-й ряд — установка чистки под двумя опускными каналами.

    6-й ряд — монтируется колосниковая решетка. Кирпич между топочной дверкой и колосниковой решеткой стесывается в сторону решетки.

    7-й ряд — перекрытие чистки, установка топочной дверки.

    8–13-й ряды — формирование топочной камеры, двух опускных и одного подъемного дымового канала. 10-й ряд перекрывает топочную дверку.

    14–16-й ряды — формирование горизонтального переходного канала между перекрытием и двумя опускными каналами, а также подъемного канала задней стенки.

    17–19-й ряды — устраивается перекрытие топки и двух опускных каналов, при этом один газоход подъемного канала остается открытым.

    20–21-й ряды — установка и укрепление дверки чистки над перекрытием.

    22-й ряд — перекрытие дверки чистки.

    23–28-й ряды — формирование системы газоходов верхней части печи в соответствии с порядовкой. На 26-м ряду устанавливается задвижка.

    29–32-й ряды — устройство перекрыши печи. На 30-м ряду устанавливается вторая задвижка.

    33–34-й ряды — формирование дымовой трубы. Кладка ведется в пять кирпичей.

    Малогабаритная отопительно-варочная печь с тепловым шкафом конструкции В. А. Потапова

    Отопительно-варочная печь конструкции В.А. Потапова (рис. 69) отличается сравнительно малыми размерами: длина ее составляет 630 мм, ширина — 510 мм, а высота — 1820 мм, поэтому на кладку печи потребуется всего лишь 211 кирпичей. Теплоотдача печи при одной топке в сутки — 850 ккал/ч, при двух топках — 1300 ккал/ч.

    Печь устанавливается на прочный фундамент с двухслойной гидроизоляцией, присоединяется к стенному дымоходу, насадной или коренной трубам. Топку печи производят только по-зимнему.

    Рассмотрим особенности устройства печи. Варочная камера с дверкой размещается над чугунной плитой. Внутри камеры предусмотрено вентиляционное отверстие или канал диаметром 60 мм, служащие для удаления запахов. Духовой шкаф располагается выше варочной камеры. Горячие газы проходят по каналу из-под чугунной плиты под духовой шкаф, нагревают его с нижней и задней стороны и только после этого направляются в дымовой канал.

    Рис. 69. Малогабаритная отопительно-варочная печь с тепловым шкафом конструкции В.А. Потапова

    Рис. 69 (продолжение). Последовательность кладки

    Рис. 69 (продолжение). Последовательность кладки

    Рис. 69 (продолжение). Последовательность кладки

    Материалы для кладки печи :

    — кирпич обыкновенный — 211 шт.;

    — плита чугунная 360 х 410 мм, с одной конфоркой — 1 шт.;

    — дверка топочная 130 х 210 мм — 1 шт.;

    — дверка поддувальная 130 х 140 мм — 1 шт.;

    — дверка прочистная 130 х 140 мм — 1 шт.;

    — дверка чугунная для вентиляционного канала 130 х 75 мм — 1 шт.;

    — решетка колосниковая 180 х 200 мм — 1 шт.;

    — задвижка печная 140 х 140 мм — 1 шт.;

    — уголок стальной 32 х 32 х 4 мм — 8 шт.;

    — проволока стальная вязальная 1,5–1,8 мм — 4,5 м;

    — железо кровельное 500 х 700 мм — 0,35 м2;

    — рубероид — 1,0 м2.

    Последовательность кладки

    1-й ряд — выкладывается из целого кирпича строго горизонтально.

    2-й ряд — закладывается канал размером 140 х 260 мм, устанавливается прочистная дверка.

    3-й ряд — устройство зольника и укрепление дверки для него.

    4-й ряд — перекрытие чистки (поддувало оставляют без изменений).

    5-й ряд — выкладывается в соответствии с порядовкой. Устанавливается колосниковая решетка, с передней и задней стороны топливника стесывается кирпич. Размеры канала остаются неизменными.

    6-й ряд — установка дверки топливника.

    7-й ряд — выкладывается аналогично 6-му ряду с соблюдением перевязки швов.

    8-й ряд — устройство перекрытия топочной дверки с образованием отверстия для укладки чугунной плиты. С правой стороны следует оставить канал, через который газы будут выходить в уже имеющийся канал.

    9-й ряд — выкладывается аналогично 8-му ряду с соблюдением перевязки швов.

    10-й ряд — выкладывается в соответствии с порядовкой. Устанавливается дверка варочной камеры. С левой и задней стороны стенку кладут толщиной в четверть кирпича с целью расширения камеры.

    11–12-й ряды — выкладываются в соответствии с порядовкой.

    13-й ряд — в этом ряду нужно оставить отверстие с правой стороны, в которое будет установлена дверка для вентиляции варочной камеры.

    14-й ряд — для увеличения высоты камеры в верхней ее части оставляют отверстие.

    15-й ряд — служит перекрытием для 14-го ряда. В этом ряду следует оставить один канал, который проходит со 2-го ряда.

    16–17-й ряды — установка дверки чистки.

    18–23-й ряды — выкладываются в соответствии с порядовкой. Устанавливается духовой шкаф.

    24-й и последующие ряды — устройство перекрытия верха печи, установка дымовой задвижки.

    Отопительно-варочная печь

    Отопительно-варочную печь (рис. 70) топят как по-летнему, так и по-зимнему. Ее масса без трубы составляет 1900 кг. Печь имеет следующие размеры: длина — 1020 мм, ширина — 640 мм и высота — 2240 мм. При двух топках в сутки теплоотдача печи составляет 2800 ккал/ч.

    Отопительно-варочная печь устанавливается на фундамент, который не доводят до уровня пола на два ряда кирпичной кладки. Между 1-м и 2-м рядом укладывают два слоя толя. На уровне 100–150 мм выше уровня земли необходимо сделать гидроизоляцию.

    Рис. 70. Отопительно-варочная печь

    Рис. 70 (продолжение). Последовательность кладки

    Рис. 70 (продолжение). Последовательность кладки

    Рис. 70 (продолжение). Последовательность кладки

    Материалы для кладки печи :

    — кирпич красный — 400 шт.;

    — кирпич огнеупорный (можно заменить его отборным красным) — 70 шт.;

    — решетка колосниковая 250 х 250 мм — 1 шт.;

    — дверка топочная 260 х 205 мм — 1 шт.;

    — дверка поддувальная 260 х 140 мм — 1 шт.;

    — дверка прочистная 130 х 140 мм — 2 шт.;

    — дверка самоварника 130 х 140 мм — 1 шт.;

    — дверка для варочной камеры — 1 шт.;

    — задвижка дымовая 130 х 140 мм — 2 шт.;

    — плита чугунная — 1 шт.;

    — рубероид для гидроизоляции — 1,5 м2;

    — кровельная сталь для предтопочного листа 500 х 700 мм — 0,35 м2.

    Последовательность кладки печи

    1-й ряд — выкладывается в угольник строго горизонтально.

    2-й ряд — выкладывается с соблюдением перевязки швов, начиная с установки дверки поддувала.

    3-й ряд — кладка производится в соответствии с порядовкой. Высота этого ряда кладки соответствует высоте рамки поддувальной дверки.

    4-й ряд — кладку начинают с правой стороны печи. Устанавливается дверка чистки.

    5-й ряд — кладка ведется аналогично 4-му ряду. Сужают отверстие над зольником.

    6-й ряд — выкладывается из обычного, лучше огнеупорного кирпича. Колосниковая решетка устанавливается на 5-й ряд кладки, при этом кладка 6-го ряда по всем сторонам решетки не доводится до нее на 10–15 мм. Это расстояние необходимо для свободного расширения металла при его нагревании в процессе топки печи.

    7-й ряд — выкладывается в соответствии с порядовкой. Устроенный ранее в виде буквы П канал перекрывается кладкой таким образом, чтобы образовались три канала: два квадратных в полкирпича и один в полтора кирпича. Устанавливается топочная дверка, которая должна опираться на 6-й ряд и на нем же закрепляться.

    8–9-й ряды — отличаются от предыдущего только перевязкой швов.

    10-й ряд — выкладывается из огнеупорного кирпича максимально горизонтально, т. к. на него будет установлен чугунный настил. В ходе кладки должно остаться только два канала квадратного сечения с перекрытием топочной дверки. Против топливника задней стенки на 20 мм внутрь печи выдвигаются два кирпича, что связано с размерами стандартной чугунной плиты для варочной камеры.

    11-й ряд — выкладывается из обычного кирпича. С правой стороны печи остаются те же два канала. Отверстие над топкой перекрывается чугунным настилом, поверх которого ведется кладка. Для того чтобы оставить зазор между кладкой и настилом, в кирпичах следует срубить кромки. С опорой на 10-й ряд устанавливается и прочно закрепляется дверка варочной камеры.

    12-й ряд — выкладывается в соответствии с порядовкой. Два квадратных канала преобразуют в один, которому придают форму прямоугольника длиной в полтора кирпича.

    13-й ряд — выкладывается в соответствии с порядовкой, аналогично предыдущему ряду. Прямоугольный канал перекрывается так, чтобы образовались два квадратных канала в полкирпича.

    14-й ряд — выкладывается аналогично 13-му ряду. В этом ряду устанавливается задвижка, которую открывают в летнее время, когда печь не топится.

    15-й ряд — кладка с соблюдением перевязки швов, перекрытие задвижки. В том же ряду укладывается листовая сталь сечением 50 х 50 х 5 мм, длиной 620 мм, устраивается перекрытие верха варочной камеры, которое выполняется на одном уровне с верхом рамки дверки.

    16-й ряд — перекрывается дверка камеры, в ней устраивается отверстие, в которое устанавливается дверка, необходимая для вентиляции варочной камеры (удаление пара, гари, запахов).

    17-й ряд — выкладывается в соответствии с порядовкой. Перекрывается поставленная дверка. Над верхом варочной камеры укладываются две стальные полосы сечением 50 х 5 мм, длиной 500 мм, поверх которых устраивается перекрытие верха варочной камеры.

    18–19-й ряды — перекрытие верха варочной камеры. Кладка ведется с соблюдением перевязки швов. С правой стороны печи следует оставить два канала квадратного сечения.

    20–21-й ряды — кладка ведется таким образом, чтобы остался только один квадратный канал. Устанавливается чистка. На верх перекрытой варочной камеры с внутренней стороны печи (кладки) кладут на ребро два кирпича, отступив от задней стенки на 40 мм, а от передней — на 110 мм.

    22–23-й ряды — кладка ведется таким образом, чтобы с правой стороны печи образовались два канала квадратного сечения. Внутри печи кирпичи укладываются на ребро, при этом должны остаться три продольных канала: два крайних шириной по 110 мм и средний шириной 50 мм.

    24–25-й ряды — выкладываются с перевязкой швов так, чтобы с правой стороны печи остались два канала. Устанавливается дверка самоварника.

    26-й ряд — выкладывается аналогично 22-му ряду.

    27–28-й ряды — кладка ведется таким образом, чтобы с правой стороны остался только один квадратный канал размером 130 х 130 мм. Внутри печи кирпичи следует ставить на ребро и располагать на одинаковом расстоянии от стенок печи и друг от друга.

    29-й ряд — выкладывается так, что с правой стороны остается один канал квадратного сечения. Со стороны передней и задней стенок укладывается по два кирпича, выходящих внутрь наполовину их длины.

    30-й ряд — выполняется перекрытие тепловой камеры. Устанавливается задвижка для закрывания всей печи в целом.

    31–32-й ряды — выкладываются с соблюдением перевязки швов. В конце кладки над тепловой камерой, у потолка, должно быть три ряда кладки, что соответствует требованиям противопожарной безопасности.

    Далее с учетом перевязки швов выкладывается труба, сечение дымового канала которой составляет 130 х 130 мм.

    Отопительно-варочная печь «Шведка»

    Печь «Шведка» (рис. 71) обычно выкладывается в небольших домах, площадь которых не превышает 30 м2. Располагаться печь должна следующим образом: лицевая сторона с топкой и плитой выходит на кухню, а задняя стена — в комнату. Важными преимуществами отопительно-варочной печи «Шведка» являются ее малые габариты и экономичность. Для топки печи на весь отопительный сезон потребуется примерно 1,5 т угля. Топить печь можно и дровами. При кладке печи необходимо учесть, что при использовании в качестве топлива дров топочную дверку придется опустить на один ряд, также следует уложить более длинные колосниковые решетки. Размеры печи таковы: длина — 1010 мм, ширина — 880 мм и высота — 2170 мм.

    Рис. 71. Отопительно-варочная печь «Шведка»

    Рис. 71 (продолжение). Последовательность кладки

    Рис. 71 (продолжение). Последовательность кладки

    Рис. 71 (продолжение). Последовательность кладки

    Материалы для кладки печи :

    — кирпич, включая огнеупорный, — 680 шт.;

    — дверка топочная 210 х 250 мм — 1 шт.;

    — дверка поддувальная 140 х 140 мм — 1 шт.;

    — дверка чистки 140 х 140 мм — 5 шт.;

    — плита чугунная 410 х 710 мм — 1 шт.;

    — духовка 450 х 360 х 300 мм — 1 шт.;

    — колосники штучные (длина 300 мм) — 10 шт.;

    — сталь угловая 40 х 40 х 4 мм — 2 м;

    — сталь листовая — 2 м;

    — лист предтопочный 500 х 700 мм — 1 шт.

    Последовательность кладки

    1–2-й ряды — кирпич укладывается плашмя с соблюдением размеров и прямоугольной формы основания.

    3-й ряд — формирование зольниковой камеры и установка поддувальной и трех прочистных дверок.

    4-й ряд — выкладывается аналогично 3-му ряду с соблюдением перевязки швов.

    5-й ряд — установка колосниковой решетки и духовки, перекрытие поддувальной дверки и трех дверок чистки.

    6-й ряд — формирование топочной камеры. Между топкой и духовкой огнеупорный кирпич следует класть на ребро.

    7-й ряд — формирование газоходов задней стенки.

    8-й ряд — перекрытие газохода между задней стенкой духовки и вертикальными каналами отопительного щита в соответствии с порядовкой.

    9-й ряд — окончательное перекрытие газохода между задней стенкой духовки и вертикальными каналами отопительного щита.

    10-й ряд — перекрытие топочной дверки и духовки. После завершения кладки 10-го ряда по углу лицевой стороны укладываются чугунная плита и угловая сталь, размеры которой составляют 1000 х 40 х 40 мм. На верх духовки предварительно наносится слой глинопесчаного раствора толщиной 10–20 мм. Перегородку между духовкой и топочной камерой также следует поднять на 10–20 мм и сравнять со слоем раствора. Угловая сталь крепится с помощью стальной пережженной проволоки.

    11-й ряд — устройство полного перекрытия канала между плитой и боковой правой стенкой.

    12–16-й ряды — формирование варочной камеры и трех вертикальных газоходов в соответствии с порядовкой.

    17–18-й ряды — по предварительно уложенной полосовой стали и стальному уголку перекрывается варочная камера.

    19–20-й ряды — установка двух чисток газоходов лицевой стороны печи.

    21–28-й ряды — формирование газоходов в соответствии с порядовкой. На 27-м ряду следует установить дымовую задвижку.

    29-й ряд — перекрытие верхних газоходов с расширением кладки на 50 мм как по длине, так и по ширине, которое образует выступ-карниз.

    30-й ряд — второй ряд перекрытия с увеличением длины и ширины кладки еще на 50 мм.

    31-й ряд — ширина и длина перекрытия доводится до размеров 27-го ряда.

    32-й ряд — выкладывается основание насадной трубы в пять кирпичей.

    Треугольная отопительная печь

    Треугольная отопительная печь (рис. 72) может равномерно обогревать сразу три комнаты, потому что все ее три стороны обладают одинаковой теплоотдачей, тогда как в прямоугольных печах основное количество тепла поступает в помещение от боковых стенок, та же часть помещения, которая располагается с топочной стороны, обогревается недостаточно. Кроме того, конструкция треугольной печи допускает возможность присоединения с одной ее стороны углового камина.

    Сложность конструкции данной печи состоит в том, что при кладке придется отесывать большое количество кирпичей. Как известно, колотый и тесаный кирпич сравнительно быстро утрачивает свои структурные качества и разрушается под воздействием перепадов температур. Для того чтобы избежать быстрого разрушения печи, перед тем как приступить к ее кладке, необходимо проверить, насколько хорошо поддается колке и стесыванию подготовленный красный кирпич. В том случае, если его качество неудовлетворительное, кирпич может хорошо раскалываться пополам, но при стесывании углов будет крошиться, что приведет к увеличению расхода материалов на кладку печи.

    Так как для топки треугольной печи можно использовать любое твердое топливо, кладка ее топочной камеры выполняется из огнеупорного кирпича.

    Рис. 72. Треугольная отопительная печь

    Рис. 72 (продолжение). Последовательность кладки

    Рис. 72 (продолжение). Последовательность кладки

    Рис. 72 (продолжение). Последовательность кладки

    Материалы для кладки печи :

    — кирпич красный — 580 шт.;

    — кирпич огнеупорный — 35 шт.;

    — дверка топочная 250 х 210 мм — 1 шт.;

    — дверка поддувальная 140 х 140 мм — 1 шт.;

    — дверка прочистная 140 х 140 мм — 4 шт.;

    — решетка колосниковая 250 х 250 мм — 1 шт.;

    — задвижка 130 х 240 мм — 1 шт.;

    — задвижка 240 х 130 мм — 1 шт.;

    — лист предтопочный 500 х 700 мм — 1 шт.

    Кухонные плиты

    Нередко плиты ставят прямо на полу или на подложенном деревянном щите (при условии, что пол достаточно прочный), но лучше делать плиты на фундаменте; в этом случае прочность пола не имеет значения. Теплоотдача плит зависит от их размеров и обычно не превышает 900 ккал/ч. Для того чтобы эффективнее использовать тепло, выделяющееся при сгорании топлива, кухонные плиты часто совмещают с отопительными щитками.

    Плиты могут быть разных размеров, разной степени сложности, с разным числом конфорок. Простые плиты имеют только топливник (топку), закрытый сверху чугунным настилом или чугунной плитой с конфорками.

    Плиты средней сложности, кроме плит с конфорками, чаще всего имеют еще и духовку. Сложные плиты, как правило, оборудуются духовкой и водогрейной коробкой. В простых плитах горячие газы, образующиеся при горении топлива, направляются под чугунный настил или чугунную плиту, а затем по выводу в трубу или отопительный щиток.

    Кухонная плита с духовым шкафом

    Данная плита (рис. 73) имеет параметры 1020 х 640 х 770 мм (длина, ширина, высота) и рассчитана под чугунный настил (или же пять плит с конфорками) 530 х 900 мм. Если настил имеет другой размер, необходимо соответственно изменить ширину и длину плиты. Каналы же внутри нее должны остаться прежними. Такая плита обеспечивает теплоотдачу 600 ккал/ч (при двух топках в сутки).

    Рис. 73. Кухонная плита с духовым шкафом: а — духовой шкаф; б — чистка; в — топливник; г — поддувало

    Материалы :

    — кирпич обыкновенный красный — 175 шт.;

    — раствор глиняный — 50 л;

    — сталь кровельная, лист предтопочный 500 х 700 мм — 1 шт.;

    — сталь кровельная под плиту 1020 х 640 мм — 1 шт.;

    — войлок строительный — 1 кг;

    — лента стальная 25 х 15 мм — 1,2 м;

    — уголок стальной для обвязки 30 х 30 х 4 мм — 8 шт.;

    — плиты чугунного настила 530 х 180 мм, с конфорками — 5 шт.;

    — шкаф духовой 350 х 350 х 450 мм — 1 шт.;

    — дверка топочная 250 х 210 мм — 1 шт.;

    — дверка поддувальная 130 х 140 мм — 1 шт.;

    — дверка прочистная 130 х 140 мм — 1 шт.;

    — задвижка (вьюшка) дымовая 130 х 130 мм — 1 шт.;

    — решетка колосниковая 250 х 180 мм — 1 шт.

    Кладку плиты необходимо проводить в точном соответствии с порядовкой (рис. 74) . Швы между кирпичами заполняют глиняным раствором, выдерживая их одинаковую ширину на протяжении всей кладки. В процессе кладки периодически необходимо проверять вертикальность стен плиты. Для прочности кладки кирпичи в ряду укладывают с обязательным соблюдением перевязки швов. Если кладка осуществляется на полу или на подложенном деревянном щите, нужно предварительно подготовить площадку. На пол (или на деревянный щит) укладывают два слоя листового асбеста или листового войлока, как следует вымоченного в глиняном растворе, и накрывают листом кровельной стали, вырезанным по размеру очага. Лист прибивают гвоздями к полу (щиту), а лишний, выступающий за край войлок или асбест обрезают. Стальной лист покрывают глиняным раствором, после чего выкладывают на него первый ряд кирпичей, также скрепляя их между собой глиняным раствором.

    Рис. 74. Кухонная плита с духовым шкафом. Последовательность кладки

    Простая кухонная плита

    Размеры плиты: 940 х 550 х 770 мм.

    Материалы:

    — кирпич — 150 шт.;

    — раствор глиняный — 5 ведер;

    — плита чугунная составная двухконфорочная 410 х 360 мм — 2 шт.;

    — решетка колосниковая 25 х 25 мм — 1 шт.;

    — дверка топочная 250 х 205 мм — 1 шт.;

    — дверка поддувальная 130 х 140 мм — 1 шт.;

    — дверка прочистная 130 х 140 мм — 1 шт.;

    — уголки стальные для обвязки 30 х 30 х 4 мм — 8 шт.

    Последовательность кладки

    1-й ряд — сплошная кладка.

    2-й ряд — средний канал перекрывается.

    3-й ряд — второй ряд перекрывается, устраивается напуск в 5 см.

    4-й ряд — кладка с перевязкой швов, один из средних кирпичей стесывают книзу.

    5-й ряд — установка прочистной и поддувальной дверок, кладка стенки вертикального канала.

    6-й ряд — перекрывается канал дымохода.

    7-й ряд — перекрывается поддувало, устанавливается духовой шкаф.

    8-й ряд — отверстие над поддувалом сужается.

    9-й ряд — устанавливается колосниковая решетка и топочная дверка.

    10-й ряд — перекрывается проем между духовым шкафом, каналом и перегородкой.

    11-й ряд — над перегородкой кладется стесанный кирпич.

    12-й ряд — поверхность выравнивается глиняным раствором, устанавливается и обвязывается стальным уголком двухконфорочная чугунная плита.

    Кухонная плита с духовкой

    Размеры плиты — 650 х 1000 мм, масса — 630 кг.

    Материалы:

    — кирпич обыкновенный — 175 шт.;

    — раствор глиняный — 40 л;

    — дверка топочная 250 х 205 мм — 1 шт.;

    — дверка прочистная 140 х 140 мм — 1 шт.;

    — дверка поддувальная 140 х 140 мм — 1 шт.;

    — задвижка дымовая 130 х 130 мм — 1 шт.;

    — плита чугунная 530 х 120 мм — 1 шт.;

    — плита чугунная двухконфорочная 530 х 360 мм — 1 шт.;

    — шкаф духовой 350 х 350 х 450 мм — 1 шт.;

    — сталь листовая (под плиту) — 640 х 1020 мм;

    — решетка колосниковая 250 х 250 мм — 1 шт.;

    — войлок строительный — 1 кг;

    — уголок стальной 30 х 40 х 4 мм — 8 шт.;

    — сталь полосовая 25 х 15 мм — 2 м.

    Последовательность кладки

    Кладка ведется на полу, который предварительно покрывают двойным слоем войлока, пропитанного глиняным раствором, и закрывают сверху кровельной сталью.

    1-й ряд — выкладывается целыми кирпичами, в крайнем случае наружные ряды кладут из целого, а середину из половинок кирпича.

    2-й ряд — выкладывается только целыми кирпичами. Обязательна перевязка швов.

    3-й ряд — оформляют поддувальное отверстие, устанавливают дверку чистки, которая ставится на 2-й ряд.

    4-й ряд — в задней стенке этого ряда нужно оставить отверстие для крепления патрубка, соединяющего плиту с дымоходом. Начинают выкладывать канал для прохода горячих дымовых газов к дымовому отверстию. Для этого кирпич кладут на ребро на расстоянии 13 см от кладки. Этот кирпич образует перегородку канала. В этом ряду закладывают поддувальное отверстие, устанавливают дверку. Размер поддувала — 26 х 26 см. Кирпич у входного отверстия скашивают.

    5-й ряд — перекрывается дверка чистки. Перегородку не продолжают, т. к. кирпич, поставленный на ребро, рассчитан на два ряда в высоту.

    6-й ряд — сначала устанавливается духовка. Ее ставят на тонкий слой глиняного раствора. Между стенкой духовки и стенкой плиты помещают стоймя кирпич для образования двух каналов. Кирпич имеет высоту четырех рядов кладки. Уменьшают поддувало до размера 13 х 26 см.

    7-й ряд — укладка колосниковой решетки. С двух сторон обрамляющие кирпичи стесывают под углом для топлива. Для защиты стенки духовки со стороны топливника от воздействия повышенных температур вплотную к духовому ящику ставят кирпич на ребро, закрепляя его на глиняном растворе. Установка топочной дверки поверх ряда.

    8-й ряд — формирование топливника размером 26 х 52 см.

    9-й ряд — кладется так же, как и предыдущий.

    10-й ряд — перекрывается канал у задней стенки духового шкафа, оставляется канал с боковой стороны. Эта операция выполняется при помощи полномерного кирпича и трехчетверток. Для более свободного прохода дымовых газов ребру перегородки придают закругленную форму со стороны топочной камеры. Перегородку между духовкой и топливником возводят примерно на 15 см выше духового шкафа.

    11-й ряд — установка чугунной плиты. Перекрытие дверок топливника и духового шкафа. Духовку покрывают слоем глиняного раствора толщиной в 1,5 см. Между духовкой и чугунной плитой должно оставаться расстояние не менее 7 см.

    12-й ряд — укладка чугунных двухконфорочных плит на тонкий слой глиняного раствора. Одну из конфорок располагают непосредственно над топкой.

    Квартирная кухонная печь

    Эту модель кухонной печи можно назвать плитой, т. к. основная ее функция — приготовление пищи. Квартирная кухонная печь рассчитана на установку в квартирах с центральным отоплением. Однако в сочетании с отопительным щитком такая печь является отопительно-варочной.

    Размеры печи с водогрейной коробкой — 1150 х 540 мм, без водогрейной коробки — 1020 х 640 мм; высота — 770 мм (рис. 75) . В качестве топлива для нее подойдут как обычные дрова, так и торф, каменный уголь.

    Установка печи предполагает отсутствие фундамента, т. е. ее ставят прямо на пол, предварительно постелив в место установки лист кровельной стали и слой войлока, пропитанного глиняным раствором. Рекомендуется перед началом установки печи проверить прочность пола.

    Рис. 75. Квартирная кухонная печь: а — устройство; б — последовательность кладки

    Материалы:

    — кирпич обыкновенный — 175 шт.;

    — глина обыкновенная — 0,04 м3;

    — песок — 0,04 м3;

    — колосниковая решетка 250 х 252 мм — 1 шт.;

    — топочная дверка 270 х 280 мм — 1 шт.;

    — поддувальная и прочистная дверки 130 х 140 мм — по 1 шт.;

    — чугунные плиты составные, с конфорками, 530 х 360 мм — 2 шт.;

    — чугунная плита составная, без конфорок, 530 х 190 мм — 1 шт.;

    — войлок строительный — 1,2 кг;

    — кровельная сталь 640 х 1150 мм — 0,75 м2;

    — обвязка:

    угловая сталь 30 х 30 х 4 мм — 3,6 м;

    стальная лента 25 х 1,5 мм — 1,2 м;

    круглая сталь (диаметр 12 мм) — (3,1 м);

    — предтопочный лист 500 х 700 мм — 1 шт.;

    — шкаф духовой 350 х 350 х 450 мм — 1 шт.;

    — водогрейная коробка 150 х 350 х 450 мм — 1 шт.

    Кухонная плита на шанцах

    Устройство кухонной плиты на шанцах показано на рис. 76 .

    Рис. 76. Кухонная плита на шанцах: 1 — поддувальная дверка; 2 — топочная дверка; 3 — духовой шкаф; 4 — дверка чистки; 5 — шанцы

    Рис. 76 (продолжение). Последовательность кладки

    Рис. 76 (продолжение). Последовательность кладки

    Материалы :

    — кирпич, включая огнеупорный, — 140 шт.;

    — плита чугунная 762 х 456 мм — 1 шт.;

    — дверка топочная 220 х 160 мм — 1 шт.;

    — дверка поддувальная 220 х 160 мм — 1 шт.;

    — дверка прочистная 150 х 110 мм — 1 шт.;

    — решетка колосниковая 250 х 180 мм — 1 шт.;

    — духовка 320 х 270 х 400 мм — 1 шт.;

    — стальная рамка 940 х 550 мм — 1 шт.;

    — асбест листовой (войлок) — 2 м2;

    — сталь кровельная — 2 м2.

    Последовательность кладки

    1-й ряд — кладка шанцев в соответствии с приведенной на рис. 76 порядовкой.

    2-й ряд — выкладывается так же, как и 1й, с перевязкой швов. Средний канал перекрывается целым кирпичом.

    3-й ряд — полностью перекрывается с напуском во все стороны на 50–70 см.

    4-й ряд — выкладывается в соответствии с порядовкой. Стрелка показывает направление выхода газа в дымовую трубу или отопительный щит. Для того чтобы увеличить канал, заштрихованный средний кирпич нужно стесать.

    5-й ряд — установка дверки чистки и поддувала. На выходе в трубу кирпич следует стесать для обеспечения лучшего дымооборота. Для установки духовки и последующего образования канала между духовкой и правой боковой стенкой внутри канала кирпич выпускают.

    6-й ряд — перекрытие канала, ведущего к дымоходу.

    7-й ряд — установка духовки и поддувальной дверки; канал около задней стенки перекрывается.

    8-й ряд — для укладки колосниковой решетки уменьшается отверстие над поддувалом.

    9-й ряд — установка колосниковой решетки и топочной дверки. Окончание кладки перегородки между духовкой и топкой (выполняется из огнеупорного шамотного кирпича).

    10-й ряд — перекрытие отверстия между перегородкой и духовкой и канала между духовкой и задней стенкой; при этом канал с правой стороны не перекрывается.

    11-й ряд — поднимают 10-й ряд, перевязывая швы. Верхний кирпич перегородки между топкой и духовкой стесывается под углом. На верх духовки наносится глиняный раствор. Между чугунной плитой и духовкой оставляют пространство не менее 70 мм.

    После того как 12-й ряд будет выложен, поверх него укладывается чугунная плита и укрепляется рамка, изготовленная из угловой стали.

    Кухонная плита с духовкой и водогрейной коробкой

    Устройство данной плиты показано на рис. 77.

    Рис. 77. Кухонная плита с духовкой и водогрейной коробкой

    Рис. 77 (продолжение). Последовательность кладки

    Рис. 77 (продолжение). Последовательность кладки

    Материалы :

    — кирпич, включая огнеупорный, — 140 шт.;

    — дверка топочная 250 х 210 мм — 1 шт.;

    — дверка поддувальная 130 х 140 мм — 1 шт.;

    — дверка прочистная 130 х 140 мм — 1 шт.;

    — решетка колосниковая 250 х 180 мм — 1 шт.;

    — плита чугунная 530 х 900 мм, с двумя конфорками — 1 шт.;

    — шкаф духовой 350 х 530 х 450 мм — 1 шт.;

    — лист кровельной стали предтопочный 500 х 700 мм — 1 шт.;

    — лист кровельной стали под плиту 1150 х 640 мм — 1 шт.;

    — коробка водогрейная 150 х 350 х 450 мм — 1 шт.;

    — уголок стальной 30 х 30 х 4 мм — 8 шт.;

    — лист асбестовый (войлок) 1150 х 640 мм — 1 шт.

    Последовательность кладки

    1-й ряд — сплошная кладка. При этом для наружной кладки можно использовать целый кирпич, а для внутренней — половинки и четвертинки.

    2-й ряд — сплошная кладка. По завершении второго ряда следует проверить угольность печи и сравнить диагонали.

    3-й ряд — закладка чистки, служащей для удаления сажи из-под духовки.

    4-й ряд — установка поддувальной дверки. С задней стороны печи должно остаться выходное отверстие для соединения плиты с дымовой трубой или отопительным щитом. Для того чтобы обеспечить лучший выход дымовых газов, угловой кирпич скашивают. На расстоянии 70–80 мм от задней стенки и 130 мм от внутренней устанавливают перегородку из кирпича.

    5-й ряд — перекрытие чистки.

    6-й ряд — установка водогрейной коробки и духовки, расстояние между которыми должно быть 80–90 мм. С задней стороны кирпич следует ставить на ребро, чтобы образовалось два канала — между боковыми сторонами водогрейной коробки и духовки с задней стороны. Выполняется перекрытие выходного отверстия.

    7-й ряд — установка колосниковой решетки. Огнеупорным кирпичом на ребро производится футеровка (защитная внутренняя облицовка) духовки со стороны топки.

    8-й ряд — установка топочной дверки.

    9-й ряд — продолжение формирования топочной камеры и футеровки духовки со стороны топки.

    10-й ряд — перекрытие заднего канала. Футеровка завершается поднятием стенки на 10–20 мм выше духовки. Слой раствора сравнивается, и им же покрывается духовка с верхним кирпичом перегородки. Угол кирпича следует скосить.

    11-й ряд — перекрытие верхней части водогрейной коробки.

    12-й ряд — установка чугунной плиты, крепление угловой рамки. Для полного перекрытия верхнего ряда кладки плита стандартных размеров дополняется по длине листовой сталью толщиной 4 мм.

    Кухонная плита с котлом (КПВ-2)

    Общее устройство кухонной плиты с трубчатым водонагревателем (рис. 78) в основном аналогично устройству плиты с духовкой. Эти две плиты имеют одинаковые размеры и порядок движения дымовых газов. Их отличие за ключается лишь в том, что в топку кухонной плиты с котлом вмонтирован П-образный змеевик, изготовленный из труб диаметром 40 мм.

    Змеевик состоит из верхнего и нижнего коллекторов: к нижнему подводится холодная вода, а из верхнего в систему отопления поступает горячая. Возможно использование змеевика для нагревания воды в отдельной емкости.

    Для кухонной плиты с котлом подходят все виды твердого топлива. С целью уменьшения теплоотдачи жарочной плиты при длительных топках применяется съемный нетеплопроводный щиток, нижняя часть которого за крывается асбестовым листом.

    Плиту описанной конструкции можно установить в бане. В этом случае из нее следует убрать духовой шкаф и сделать вывод в печь-каменку. В том случае, если летняя кухня находится в одном помещении с парильней или комната отдыха бани совмещена с кухней, плиту с котлом располагают таким образом, чтобы плита и топка находились в кухне, а горячие газы выходили в печь-каменку через проем в стенной перегородке.

    Рис. 78. Кухонная плита с котлом для квартирного отопления

    Рис. 78 (продолжение). Последовательность кладки

    Рис. 78 (продолжение). Последовательность кладки

    Материалы для кладки:

    — кирпич, включая огнеупорный, — 175 шт.;

    — решетка колосниковая 250 х 180 мм — 1 шт.;

    — дверка топочная 250 х 205 мм — 1 шт.;

    — дверка поддувальная 130 х 140 мм — 1 шт.;

    — плита чугунная составная 530 х 900 мм, с двумя конфорками — 1 шт.;

    — сталь угловая 30 х 30 х 4 мм — 3,2 м;

    — змеевик сварной O40/3 (длина 5,0 м) — 1 шт.;

    — труба бесшовная O48/3 (длина 1,5 м) — 2 шт.;

    — сталь кровельная для обивки пола 640 х 1030 мм — 1 шт.;

    — лист стальной предтопочный 500 х 700 мм — 1 шт.;

    — лист асбестовый 640 х 1030 мм — 1 шт.

    Последовательность кладки

    1–3-й ряды — сплошная кладка с соблюдением перевязки швов. В 3-м ряду на месте устройства зольника кирпич нужно стесать, чтобы образовалось углубление.

    4-й ряд — установка поддувальной дверки, формирование выходного канала между левой стенкой и духовкой. Устройство чистки: на чертеже показан кирпич, который вынимают, но вместо этого устанавливают дверку чистки.

    5-й ряд — кладка ведется аналогично 4-му ряду с соблюдением правильной перевязки швов, перекрывается чистка.

    6-й ряд — установка духовки и колосниковой решетки (рис. 79, а) .

    Рис. 79. Колосниковая решетка (а) и змеевик (б)

    7-й ряд — установка змеевика (рис. 79, б) , формирование топочной камеры и канала между духовкой и левой стенкой плиты.

    8-й ряд — установка топочной дверки.

    9–10-й ряды — завершение формирования топочной камеры и дымового канала между духовкой и левой стенкой плиты.

    11–12-й ряды — кладка ведется в соответствии с порядовкой. Верхняя часть духовки промазывается глиняным раствором толщиной 15–20 мм.

    13-й ряд — установка чугунной плиты и рамки, изготовленной из стального уголка.




    Подробная информация Камин Лайн электрокамины купить у нас



    Главная | В избранное | Наш E-MAIL | Прислать материал | Нашёл ошибку | Наверх